OMB Circular 129

OMB CIRCULAR NO A-129.doc

Request for Release of Lien and/or Approval Sale

OMB Circular 129

OMB: 0572-0041

Document [doc]
Download: doc | pdf

CIRCULAR NO. A-129
REVISED

November 2000

POLICIES FOR FEDERAL CREDIT PROGRAMS
AND NON-TAX RECEIVABLES

GENERAL INFORMATION

Purpose
Authority
Coverage
Rescissions
Effective Date
Inquiries
Definitions

APPENDIX A

I. RESPONSIBILITIES OF DEPARTMENTS AND AGENCIES

Office of Management and Budget
Department of the Treasury
Federal Credit Policy Working Group
Departments and Agencies

II. BUDGET AND LEGISLATIVE POLICY FOR CREDIT PROGRAMS

Program Review
Form of Assistance
Financial Standards
Implementation

III. CREDIT MANAGEMENT AND EXTENSION POLICY

A. CREDIT EXTENSION POLICIES

Applicant Screening
Loan Documentation
Collateral Requirements

B. MANAGEMENT OF GUARANTEED LOAN LENDERS
AND SERVICERS

Lender Eligibility
Lender Agreements
Lender and Servicer Reviews
Corrective Actions

IV. MANAGING THE FEDERAL GOVERNMENTS RECEIVABLES

Accounting and Financial Reporting
Loan Servicing Requirements
Asset Resolution

V. DELINQUENT DEBT COLLECTION

Standards for Defining Delinquent and Defaulted Debt
Administrative Collection of Debts
Referrals to the Department of Justice
Interest, Penalties, and Administrative Cost
Termination of Collection, Write-Off, Use of Currently Not Collectible
(CNC), and Close-Out

Attachment A - Write-Off Close-Out process flowchart

APPENDIX B

Checklist for Credit Program Legislation, Testimony, and
Budget Submissions

APPENDIX C

Model Bill Language for Credit Programs

CIRCULAR NO. A-129
Revised

TO THE HEADS OF EXECUTIVE DEPARTMENTS AND ESTABLISHMENTS

SUBJECT:  Policies for Federal Credit Programs and Non-Tax Receivables

Federal credit programs are created to accomplish a variety of social and economic goals. Agencies must implement budget policies and management practices that ensure the goals of credit programs are met while properly identifying and controlling costs. In addition, Federal receivables, whether from credit programs or other non-tax sources, must be serviced and collected in an efficient and effective manner to protect the value of the Federal Government's assets.

GENERAL INFORMATION

1. Purpose. This Circular prescribes policies and procedures for justifying, designing, and managing Federal credit programs and for collecting non-tax receivables. It sets principles for designing credit programs, including: the preparation and review of legislation and regulations; budgeting for the costs of credit programs and minimizing unintended costs to the Government; and improving the efficiency and effectiveness of Federal credit programs. It also sets standards for extending credit, managing lenders participating in Government guaranteed loan programs, servicing credit and non-tax receivables, and collecting delinquent debt.

2. Authority. This Circular is issued under the authority of the Budget and Accounting Act of 1921, as amended; the Budget and Accounting Act of 1950, as amended; the Debt Collection Act of 1982; as amended by the Debt Collection Improvement Act of 1996; Section 2653 of Public Law 98-369 the Federal Credit Reform Act of 1990, as amended; the Federal Debt Collection Procedures Act of 1990; the Chief Financial Officers Act of 1990, as amended; Executive Order 8248; the Cash Management Improvement Act Amendments of 1992; and pre-existing common law authority to charge interest on debts and to offset payments to collect debts administratively.

3. Coverage.

a. Applicability. The provisions of this Circular apply to all credit programs of the Federal Government, including:

(1) Direct loan programs;

(2) Loan guarantee programs and loan insurance programs in which the Federal Government bears a legal liability to pay for all or part of the principal or interest in the event of borrower default; and

(3) Loans or other financial assets acquired by a Federal agency (or a receiver or conservator acting for a Federal agency) as a result of a claim payment on a defaulted guaranteed or insured loan or in fulfillment of a Federal deposit insurance commitment.

Sections IV and V of Appendix A ("Managing the Federal Government's Receivables" and "Delinquent Debt Collection") also apply to receivables due to the Government from the sale of goods and services; fines, fees, duties, leases, rents, royalties, and penalties; overpayments to beneficiaries, grantees, contractors, and Federal employees; and similar debts.

b. Exclusions Under the Debt Collection Acts. Certain debt collection techniques authorized or mandated by the provisions of the Debt Collection Act of 1982 (DCA), as amended by the Debt Collection Improvement Act of 1996 (DCIA), do not apply to debts arising under the Internal Revenue Code, certain sections of the Social Security Act, or the tariff laws of the United States. <31 U.S.C.§3701>

c. Other Statutory Exclusions. The policies and standards of this Circular do not apply when they are statutorily prohibited or are inconsistent with statutory requirements. However, agencies are required to periodically review legislation affecting the form of assistance and/or financial standards for credit programs to justify continuance of any non-conformance.

4. Rescission. This Circular rescinds and replaces OMB Circular No. A-129 (revised), dated January 1993, and OMB Bulletin No. 91-05, dated November 26, 1990.

This Circular supplements, and does not supersede, the requirements applicable to budget submissions under OMB Circular No. A-11 and to proposed legislation and testimony under OMB Circular No. A-19.

5. Effective Date. This Circular is effective immediately.

6. Inquiries. Further information on the implementation of credit management and debt collection policies may be found in the Department of the Treasury's Financial Management Service <Managing Federal Receivables> and in <OMB's Governmentwide 5-Year Plan> for financial management submitted annually to Congress.

For inquiries concerning budget and legislative policy for credit programs contact the Office of Management and Budget, Budget Review Division, Budget Analysis Branch, Room 6025, New Executive Office Building, 725 17th Street, NW, Washington, DC 20503; (202) 395-3945. Questions on all other sections of the Circular should be directed to the Office of Federal Financial Management (202) 395-4534.

7. Definitions. Unless otherwise defined in this circular, key terms used in this circular are defined in OMB Circular Nos. A-11 and A-34.

Jacob J. Lew
Director

Appendices (3)

APPENDIX A

I. RESPONSIBILITIES OF DEPARTMENTS AND AGENCIES

Statutory   

Federal Credit Reform Act of 1990, 2 U.S.C. § 661

Debt Collection Act of 1982/Debt Collection Improvement Act of 1996,
31 U.S.C. §§ 3701, 3711-3720E

Federal Debt Collection Procedures Act of 1990

Budget and Accounting Act of 1921

Budget and Accounting Act of 1950

Chief Financial Officers Act of 1990

Cash Management Improvement Act Amendments of 1992

1. Office of Management and Budget. The Office of Management and Budget (OMB) is responsible for reviewing legislation to establish new credit programs or to expand or modify existing credit programs; monitoring agency conformance with the Federal Credit Reform Act; formulating and reviewing agency credit reporting standards and requirements; reviewing and clearing testimony pertaining to credit programs and debt collection; reviewing agency budget submissions for credit programs and debt collection activities; developing and maintaining the Federal credit subsidy calculator used to calculate the cost of credit programs; formulating and reviewing credit management and debt collection policy; approving agency credit management and debt collection plans; and providing training to credit agencies.

2. Department of the Treasury. The Department of the Treasury (Treasury), acting through the Office of Domestic Finance, works with OMB to develop Federal credit policies and/or reviewing legislation to create new credit programs or to expand or modify existing credit programs. The Department of the Treasury, through its Financial Management Service (FMS), promulgates government-wide debt collection regulations implementing the debt collection provisions of the Debt Collection Improvement Act of 1996 (DCIA). FMS works with the Federal program agencies to identify debt that is eligible for referral to Treasury for cross-servicing and offset, and to establish target dates for referral. Performance measures are established which set annual referral and collection goals. In accordance with the DCIA and other Federal laws, FMS conducts offset of Federal payments, including tax refunds, under the Treasury Offset Program. FMS also provides collection services for delinquent non-tax Federal debts (referred to as cross-servicing), and maintains a private collection agency contract for referral and collection of delinquent debts. Additionally, FMS issues operational and procedural guidelines regarding government-wide credit management and debt collection such as "Managing Federal Receivables" and the "Guide to the Federal Credit Bureau Program." FMS, under its program responsibility for credit and debt management and as an active member of the Federal Credit Policy Working Group, assists in improving credit and debt management activities government-wide.

3. Federal Credit Policy Working Group. The Federal Credit Policy Working Group (FCPWG) is an interagency forum that provides advice and assistance to the Office of Management and Budget (OMB) and Treasury in the formulation and implementation of credit policy. Membership consists of representatives from the Executive Office of the President, the Council of Economic Advisers, the OMB, and the Department of the Treasury. The major credit and debt collection agencies represented include the Departments of Agriculture, Commerce, Education, Health and Human Services, Housing and Urban Development, Interior, Justice, Labor, State, Transportation, Veterans Affairs and the Agency for International Development, the Export-Import Bank, the Federal Deposit Insurance Corporation and the Small Business Administration. Other departments and agencies may be invited to participate in the FCPWG at the request of the Chairperson. The Director of OMB designates the Chairperson of the FCPWG.

4. Department and Agencies. Departments and agencies shall manage credit programs and all non-tax receivables in accordance with their statutory authorities and the provisions of this Circular to protect the Government's assets and to minimize losses in relation to social benefits provided.

  1. Agencies shall ensure that:

(1) Federal credit program legislation, regulations, and policies are designed and administered in compliance with the principles of this Circular;

(2) The costs of credit programs covered by the <Federal Credit Reform Act of 1990> are budgeted for and controlled in accordance with the principles of that Act. (Some agencies and programs are expressly exempted from the statute.);

(3) Every effort is made to prevent future delinquencies by following appropriate screening standards and procedures for determination of creditworthiness;

(4) Lenders participating in guaranteed loan programs meet all applicable financial and programmatic requirements;

(5) Informed and cost effective decisions are made concerning portfolio management, including full consideration of contracting out for servicing or selling the portfolio;

(6) The full range of available techniques are used, such as those found in the <Federal Claims Collection Standards> and <Treasury regulations>, as appropriate, to collect delinquent debts, including demand letters, administrative offset, salary offset, tax refund offset, private collection agencies, cross-servicing by Treasury, administrative wage garnishment, and litigation;

(7) Delinquent debts are written-off as soon as they are determined to be uncollectible; and

(8) Timely and accurate financial management and performance data are submitted to OMB and the Department of the Treasury so that the Government's credit management and debt collection programs and policies can be evaluated.

  1. In order to achieve these objectives, agencies shall:

(1) Establish, as appropriate, boards to coordinate credit management and debt collection activities and to ensure full consideration of credit management and debt collection issues by all interested and affected organizations. Representation should include, but not be limited to, the agency Chief Financial Officer (CFO) and the senior official(s) for program offices with credit activities or non-tax receivables. The Board may seek from the agency's Inspector General, input based on findings and conclusions from past audits and investigations.

(2) Ensure that the statutory and regulatory requirements and standards set forth in this Circular, <Treasury regulations>, and supplementary guidance set forth in the Treasury/FMS <Managing Federal Receivables> are incorporated into agency regulations and procedures for credit programs and debt collection activities;

(3)Propose new or revised legislation, regulations, and forms as necessary to ensure consistency with the provisions of this Circular;

(4) Submit legislation and testimony affecting credit programs for review under the OMB Circular No. A-19 legislative clearance process, and budget proposals for review under the Circular No. A-11 budget justification process;

(5) Periodically evaluate Federal credit programs to assure their effectiveness in achieving program goals;

(6) Assign to the agency CFO, in accordance with the <Chief Financial Officers Act of 1990>, responsibility for directing, managing, and providing policy guidance and oversight of agency financial management personnel, activities, and operations, including the implementation of asset management systems for credit management and debt collection;

(7) Prepare, as part of the agency CFO Financial Management 5-Year Plan, a Credit Management and Debt Collection Plan for effectively managing credit extension, account servicing, portfolio management and delinquent debt collection. The plan must ensure agency compliance with the standards in this Circular; and

(8) Ensure that data in loan applications and documents for individuals are managed in accordance with the <Privacy Act of 1974>, as amended by the <Computer Matching and Privacy Protection Act of 1988>, and the <Right to Financial Privacy Act of 1978, as amended>. The Privacy Act of 1974 does not apply to loans and debts of commercial organizations.

II. BUDGET AND LEGISLATIVE POLICY FOR CREDIT PROGRAMS

Federal credit assistance should be provided only when it is necessary and the best method to achieve clearly specified Federal objectives. Use of private credit markets should be encouraged, and any impairment of such markets or misallocation of the nation's resources through the operation of Federal credit programs should be minimized.

1. Program Review.

REFERENCES:

Statutory

Federal Credit Reform Act of 1990, 2 U.S.C. § 661

Guidance

OMB Circular No. A-11

Proposals submitted to OMB for new programs and for reauthorizing, expanding, or significantly increasing funding for existing credit programs should be accompanied by a written review which examines, at a minimum, the following factors:

  1. The Federal objectives to be achieved, including:

(1) Whether the credit program is intended to:

(a) Correct a capital market imperfection, which should be defined; and/or (b) Subsidize borrowers or other beneficiaries, who should be identified, or encourage certain activities, which should be specified.


(2) Why they cannot be achieved without Federal credit assistance, including:

(a) A description of existing and potential private sources of credit by type of institution and the availability and cost of credit to borrowers; and

(b) An explanation as to whether and why these private sources of financing and their terms and conditions must be supplemented and subsidized.

  1. The justification for use of a credit subsidy. The review should provide an explanation of why a credit subsidy is the most efficient way of providing assistance, including how it provides assistance in overcoming capital market imperfections, how it would assist the identified borrowers or beneficiaries or would encourage the identified activities, and why it would be preferable to other forms of assistance such as grants or technical assistance.

  2. The estimated benefits of the program or program change. The review should estimate or, when the program exists, measure the benefits expected from the program or program change, including the amount by which the distribution of credit is expected to be altered and the favored activity is expected to increase. Information on conducting a cost-benefit analysis can be found in <OMB Circular No. A-94>.

  3. The effects on private capital markets. The review should estimate the extent to which the program substitutes directly or indirectly for private lending, and analyze any elements of program design that encourage and supplement private lending activity, with the objective that private lending is displaced to the smallest degree possible by agency programs.

  4. The estimated subsidy level. The review should provide an explicit estimate of the subsidy, as required by the <Federal Credit Reform Act of 1990>, and an estimate of the expected annual administrative costs (including extension, servicing, and collection) of the credit program. If loan assets are to be sold or are to be included in a prepayment program for programmatic or other reasons, then the subsidy estimate should include the effects of the loan asset sales. For guidance on loan asset sales, see the <Debt Collection Improvement Act of 1996>, <OMB Circular No. A-11>, and the Treasury/FMS' <Managing Federal Receivables>. Loan asset sales/prepayment programs must be conducted in accordance with policies in this Circular and procedures in "Managing Federal Receivables," including the prohibitions against the financing of prepayments by tax-exempt borrowing and sales with recourse except where specifically authorized by statute. The cost of any guarantee placed on the asset sold requires budget authority.

  5. The administrative resource requirements. The review should include an examination of the agency's current capacity to administer the new or expanded program and an estimation of any additional resources that would be needed.

2. Form of Assistance.

REFERENCES:

Statutory

Federal Credit Reform Act of 1990, 2 U.S.C. § 661
Internal Revenue Code (Section 149(b)

When Federal credit assistance is necessary to meet a Federal objective, loan guarantees should be favored over direct loans, unless attaining the Federal objective requires a subsidy, as defined by the <Federal Credit Reform Act of 1990>, deeper than can be provided by a loan guarantee.

  1. Loan guarantees may provide several advantages over direct loans. These advantages include: private sector credit servicing (which tends to be more efficient), private sector analysis of the borrowers creditworthiness, (which tends to allocate resources more efficiently), involvement of borrowers with private sector lenders (which promotes their movement to private credit), and lower portfolio management costs for agencies.

  2. Loan guarantees, by removing part or all of the credit risk of a transaction, change the allocation of economic resources. Loan guarantees may make credit available when private financial sources would not otherwise do so, or they may allocate credit to borrowers under more favorable terms than would otherwise be granted. This reallocation of credit may impose a cost on the Government and/or the economy.

  3. Direct loans usually offer borrowers lower interest rates and longer maturities than loans available from private financial sources, even those with a Federal guarantee. The use of direct loans, however, may displace private financial sources and increase the possibility that the terms and conditions on which Federal credit assistance is offered will not reflect changes in financial market conditions. The costs to the Government and the economy are therefore likely to be greater.

  4. Direct or indirect guarantees of tax-exempt obligations are prohibited under <Section 149(b) of the Internal Revenue Code>. Guarantees of tax-exempt obligations are an inefficient way of allocating Federal credit. Assistance to the borrower, through the tax exemption and the guarantee, provides interest savings to the borrower that are smaller than the tax revenue loss to the Government. It is generally thought that the cost to the taxpayer is greater than the benefit to the borrower. The Internal Revenue Code provides some exceptions to this requirement; see Section 149(b) of the Internal Revenue Code for further details.

  5. To preclude the possibility that Federal agencies will guarantee tax-exempt obligations, either directly or indirectly, agencies will:

(1) not guarantee federally tax-exempt obligations;

(2) provide that effective subordination of a direct or guaranteed loan to tax-exempt obligations will render the guarantee void. To avoid effective subordination, the direct or guaranteed loan and the tax-exempt obligation should be repaid using separate dedicated revenue streams or otherwise separate sources of funding, and should be separately collateralized. In addition, the direct or guaranteed loan terms, such as grace periods, repayment schedules, and availability of deferrals, should be consistent with private sector standards to ensure that they do not create effective subordination;

(3) prohibit use of a Federal guarantee as collateral to secure a tax-exempt obligation;

(4) prohibit Federal guarantees of loans funded by tax-exempt obligations; and

(5) prohibit the linkage of Federal guarantees with tax-exempt obligations. For example, such prohibited linkage occurs if the project is unlikely to be financed without the Federal guarantee covering a portion of the cost. In such cases, the Federal guarantee is, in effect, enabling the tax-exempt obligation to be issued, since without the guarantee the project would not be viable to receive any financing. Therefore, the tax-exempt obligation is dependent on and linked to the Federal guarantee.



  1. Where a large degree of subsidy is justified, comparable to that which would be provided by guaranteed tax-exempt obligations, agencies should consider the use of direct loans.Financial Standards.

REFERENCES:

Statutory

Federal Credit Reform Act of 1990, 2 U.S.C. § 661
Chief Financial Officers Act of 1990

Guidance

OMB Circular No. A-11; SFFAS 2, OMB Circular
No. A-34

In accordance with the <Federal Credit Reform Act of 1990>, agencies must analyze and control the risk and cost of their programs. Agencies must develop statistical models predictive of defaults and other deviations from loan contracts. Agencies are required to estimate subsidy costs and to obtain budget authority to cover such costs before obligating direct loans and committing loan guarantees. Specific instructions for budget justification and subsidy cost estimation under the Federal Credit Reform Act of 1990 are provided in <OMB Circular No. A-11>, and instructions for budget execution are provided in <OMB Circular No. A-34>.

Agencies shall follow sound financial practices in the design and administration of their credit programs. Where program objectives cannot be achieved while following sound financial practices, the cost of these deviations shall be justified in agency budget submissions in comparison with expected benefits. Unless a waiver is approved, agencies should follow the financial practices discussed below.

  1. Lenders and borrowers who participate in Federal credit programs should have a substantial stake in full repayment in accordance with the loan contract.

(1) Private lenders who extend credit that is guaranteed by the Government should bear at least 20 percent of the loss from a default. Loan guarantees that cover 100 percent of any losses on a loan encourage private lenders to exercise less caution than they otherwise would in evaluating loan requests. The level of guarantee should be no more than necessary to achieve program purposes. Loans for borrowers who are deemed to pose less of a risk should receive a lower guarantee.

(2) Borrowers should have an equity interest in any asset being financed with the credit assistance, and business borrowers should have substantial capital or equity at risk in their business (see Section III.A.3.b for additional discussion).

(3) Programs in which the Government bears more than 80 percent of any loss should be periodically reviewed to determine whether the private sector has become able to bear a greater share of the risk.



  1. Agencies should establish interest and fee structures for direct loans and loan guarantees and should review these structures at least annually. Documentation of the performance of these annual reviews for credit programs is considered sufficient to meet the review requirement described in <Section 902 (a) 8 of the Chief Financial Officers Act of 1990>.

(1)Interest and fees should be set at levels that minimize default and other subsidy costs, of the direct loan or loan guarantee, while supporting achievement of the program's policy objectives.

(2) Agencies must request an appropriation in accordance with the Federal Credit Reform Act of 1990 for default and other subsidy costs not covered by interest and fees.

(3) Unless inconsistent with program purposes, and where authorized by law, riskier borrowers should be charged more than those who pose less risk. In order to avoid an unintended additional subsidy to riskier borrowers within the eligible class and to support the extension of credit to those riskier borrowers, programs that, for public policy purposes, do not adhere to this guideline, should justify the extra subsidy conveyed to the higher-risk borrowers in their annual budget submissions to OMB.

  1. Contractual agreements should include all covenants and restrictions (e.g., liability insurance) necessary to protect the Federal Government's interest.

(1) Maturities on loans should be shorter than the estimated useful economic life of any assets financed.

(2) The Government's claims should not be subordinated to the claims of other creditors, as in the case of a borrower's default on either a direct loan or a guaranteed loan. Subordination increases the risk of loss to the Government, since other creditors would have first claim on the borrower's assets.

  1. In order to minimize inadvertent changes in the amount of subsidy, interest rates to be charged on direct loans and any interest supplements for guaranteed loans should be specified by reference to the market rate on a benchmark Treasury security rather than as an absolute level. A specific fixed interest rate should not be cited in legislation or in regulation, because such a rate could soon become outdated, unintentionally changing the extent of the subsidy.

(1) The benchmark financial market instrument should be a marketable Treasury security with a similar maturity to the direct loans being made or the non-Federal loans being guaranteed. When the rate on the Government loan is intended to be different than the benchmark rate, it should be stated as a percentage of that rate. The benchmark Treasury security must be cited specifically in agency budget justifications.

(2) Interest rates applicable to new loans should be reviewed at least quarterly and adjusted to reflect changes in the benchmark interest rate. Loan contracts may provide for either fixed or floating interest rates.

  1. Maximum amounts of direct loan obligations and loan guarantee commitments should be specifically authorized in advance in annual appropriations acts, except for mandatory programs exempt from the appropriations requirements under <Section 504(c) of the Federal Credit Reform Act of 1990>.

  2. Financing for Federal credit programs should be provided by Treasury in accordance with the Federal Credit Reform Act of 1990. Guarantees of the timely payment of 100 percent of the loan principal and interest against all risk create a debt obligation that is the credit risk equivalent of a Treasury security. Accordingly, a Federal agency other than the Department of the Treasury may not issue, sell, or guarantee an obligation of a type that is ordinarily financed in investment securities markets, as determined by the Secretary of the Treasury, unless the terms of the obligation provide that it may not be held by a person or entity other than the Federal Financing Bank (FFB) or another Federal agency. In exceptional circumstances, the Secretary of the Treasury may waive this requirement with respect to obligations that the Secretary determines: (1) are not suitable for investment for the FFB because of the risks entailed in such obligations; or (2) are, or will be, financed in a manner that is least disruptive of private finance markets and institutions; or (3) are, or will be, based on the Secretary's consultation with OMB and the guaranteeing agency, financed in a manner that will best meet the goals of the program. The benefits of using the FFB must not expand the degree of subsidy.

  3. Federal loan contracts should be standardized where practicable. Private sector documents should be used whenever possible, especially for loan guarantees.

4. Implementation.

Statutory

Federal Credit Reform Act of 1990, 2 U.S.C. § 661
Government Performance and Results Act of 1993

Guidance

OMB Circular No. A-11; OMB Circular No. A-19

The provisions of this Section II will be implemented through the <OMB Circular No. A-19> legislative review process and the <OMB Circular No. A-11> budget justification and submission process. For accounting standards for Federal credit programs, see <Accounting for Direct Loans and Loan Guarantees, Statement of Federal Financial Accounting Standards Number 2>, developed by the Federal Accounting Standards Advisory Board.

  1. Proposed legislation on credit programs, reviews of credit proposals made by others, and testimony on credit activities submitted by agencies under the OMB Circular No. A-19 legislative review process should conform to the provisions of this Circular.

    Whenever agencies propose provisions or language not in conformity with the policies of this Circular, they will be required to request in writing that OMB waive the requirement. The request will be submitted on a standard waiver request form, available from OMB. Such requests will identify the waiver(s) requested, and will state the reasons for the request and the time period for which the exception is required. Exceptions, when allowed, will ordinarily be granted only for a limited time in order to allow for an evaluation by OMB. The waiver request form should be submitted to the OMB examiner with primary responsibility for the account.

  2. A checklist for reviews of legislative and budgetary proposals is included as Appendix B to this Circular. Agencies should use the model bill language provided in Appendix C in developing and reviewing legislation unless OMB has approved the use of alternative language that includes the same substantive elements.

  3. Every four years, or more often at the request of the OMB examiner with primary responsibility for the account, the agency's annual budget submission (required by <OMB Circular No. A-11, Section 15.2>) should include:

(1) A plan for periodic, results-oriented evaluations of the effectiveness of the program, and the use of relevant program evaluations and/or other analyses of program effectiveness or causes of escalating program costs. A program evaluation is a formal assessment, through objective measurement and systematic analysis, addressing the manner and extent to which credit programs achieve intended objectives. This information should be contained in agencies' annual performance plans submitted to OMB. (For further detail on program evaluation, refer to the Government Performance and Results Act of 1993 (GPRA) and related guidance);

(2) A review of the changes in financial markets and the status of borrowers and beneficiaries to verify that continuation of the credit program is required to meet Federal objectives, to update its justification, and to recommend changes in its design and operation to improve efficiency and effectiveness; and

(3) Proposed changes to correct those cases where existing legislation, regulations, or program policies are not in conformity with the policies of this Section II. When an agency does not deem a change in existing legislation, regulations, or program policies to be desirable, it will provide a justification for retaining the non-conformance.

III. CREDIT MANAGEMENT AND EXTENSION POLICY

A. CREDIT EXTENSION POLICIES

REFERENCES:

Statutory

31 U.S.C. § 3720B, 18 U.S.C. § 1001, 31 U.S.C. § 7701(d)

Regulatory

31 C.F.R. Part 285.13, Executive Order 13,109, 61 Federal Register 51,763

Guidance

Treasury/FMS "Managing Federal Receivables," "Treasury Report on Receivables (TROR)," and "Guide to the Federal Credit Bureau Program"

1. Applicant Screening.

  1. Program Eligibility. Federal credit granting agencies and private lenders in guaranteed loan programs, shall determine whether applicants comply with statutory, regulatory, and administrative eligibility requirements for loan assistance. If it is consistent with program objectives, borrowers should be required to certify and document that they have been unable to obtain credit from private sources. In addition, application forms must require the borrower to certify the accuracy of information being provided. (False information is subject to penalties under <18 U.S.C.§ 1001>.)

  2. Delinquency on Federal Debt. Agencies should determine if the applicant is delinquent on any Federal debt, including tax debt. Agencies should include a question on loan application forms asking applicants if they have such delinquencies. In addition, agencies and guaranteed loan lenders, shall use credit bureaus as a screening tool. Agencies are also encouraged to use other appropriate databases, such as the Department of Housing and Urban Development's Credit Alert Interactive Voice Response System <CAIVRS> to identify delinquencies on Federal debt.

    Processing of applications shall be suspended when applicants are delinquent on Federal tax or <non-tax debts, including judgment liens against property for a debt to the Federal Government, and are therefore not eligible to receive Federal loans, loan guarantees or insurance. (See <31 U.S.C. § 3720B> regarding non-tax debts.) This provision does not apply to disaster loans. Agencies should review and comply with <31 U.S.C. § 3720B> and <31 C.F.R. 285.13> before extending credit. Processing should continue only when the debtor satisfactorily resolves the debts (e.g., pays in full or negotiates a new repayment plan).

  3. Creditworthiness. Where creditworthiness is a criterion for loan approval, agencies and private lenders shall determine if applicants have the ability to repay the loan and a satisfactory history of repaying debt. Credit reports and supplementary data sources, such as financial statements and tax returns, should be used to verify or determine employment, income, assets held, and credit history.

  4. Delinquent Child Support. Agencies shall deny Federal financial assistance to individuals who are subject to administrative offset to collect delinquent child support payments. See <Executive Order 13,109, 61 Federal Register 51,763 (1996)>. The Attorney General has issued <Minimum Due Process Guidelines: Denial of Federal Financial Assistance Pursuant to Executive Order 13,109>, which agencies shall include in their procedures or regulations promulgated for the purpose of denying Federal financial assistance in accordance with Executive Order 13,109.

  5. Taxpayer Identification Number. Pursuant to <31 U.S.C. § 7701(d)>, agencies must obtain the taxpayer identification number (TIN) of all persons doing business with the agency. All agencies and lenders extending credit shall require the applicant or borrower to supply a TIN as a prerequisite to obtaining credit or assistance.

2. Loan Documentation. Loan origination files should contain loan applications, credit bureau reports, credit analyses, loan contracts, and other documents necessary to conform to private sector standards for that type of loan. Accurate and complete documentation is critical to providing proper servicing of the debt, pursuing collection of delinquent debt, and in the case of guaranteed loans, processing claim payments. Additional information on documentation requirements is available in the supplement to the Treasury Financial Manual <Managing Federal Receivables>.

3. Collateral Requirements. For many types of loans, the Government can reduce its risk of default and potential losses through well managed collateral requirements.

  1. Appraisals of Real Property. Appraisals of real property serving as collateral for a direct or guaranteed loan must be conducted in accordance with the following guidelines:

(1) Agencies should require that all appraisals be consistent with the <Uniform Standards of Professional Appraisal Practice>, promulgated by the Appraisal Standards Board of the Appraisal Foundation. Agencies shall prescribe additional appraisal standards as appropriate.

(2) Agencies should ensure that a State licensed or certified appraiser prepares an appraisal for all credit transactions over $100,000 ($250,000 for business loans). (This does not include loans with no cash out and those transactions where the collateral is not a major factor in the decision to extend credit). Agencies shall determine which of these transactions, because of the size and/or complexity, must be performed by a State licensed or certified appraiser. Agencies may also designate direct or guaranteed loan transactions under $100,000 ($250,000 for business loans) that require the services of a State licensed or certified appraiser.

  1. Loan to Value Ratios. In some credit programs, the primary purpose of the loan is to finance the acquisition of an asset, such as a single family home, which then serves as collateral for the loan. Agencies should ensure that borrowers assume an equity interest in such assets in order to reduce defaults and Government losses. Federal agencies should explicitly define the components of the loan to value ratio (LTV) for both direct and guaranteed loan programs. Financing should be limited by not offering terms (including the financing of closing costs) that result in an LTV equal to or greater than 100 percent. Further, the loan maturity should be shorter than the estimated useful economic life of the collateral.

  2. Liquidation of Real Property Collateral for Guaranteed Loans. In general, it is not in the Federal Government's financial interest to assume the responsibility for managing and disposing of real property serving as collateral on defaulted guaranteed loans. Private lenders should be required to liquidate, through litigation if necessary, any real property collateral for a defaulted guaranteed loan before filing a default claim with the credit granting agency.

  3. Asset Management Standards and Systems. Agencies should establish policies and procedures for the acquisition, management, and disposal of real property acquired as a result of direct or guaranteed loan defaults. Agencies should establish inventory management systems to track all costs, including contractual costs, of maintaining and selling property. Inventory management systems should also generate management reports, provide controls and monitoring capabilities, and summarize information for the Office of Management and Budget and the Department of the Treasury. (See <Treasury Report on Receivables>).

B. MANAGEMENT OF GUARANTEED LOAN LENDERS AND SERVICERS

REFERENCES:

Guidance

Treasury/FMS "Managing Federal Receivables"

1. Lender Eligibility.

  1. Participation Criteria. Federal credit granting agencies shall establish and publish in the Federal Register specific eligibility criteria for lender participation in Federally guaranteed loan programs. These criteria should include:

(1) Requirements that the lender is not currently debarred/suspended from participation in a Government contract or delinquent on a Government debt;

(2) Qualification requirements for principal officers and staff of the lender;

(3) Fidelity/surety bonding and/or errors and omissions insurance with the Federal Government as a loss payee, where appropriate, for new or non-regulated lenders or lenders with questionable performance under Federal guarantee programs;

(4) Financial and capital requirements for lenders not regulated by a Federal financial institution regulatory agency, including minimum net worth requirements based on business volume.

  1. Review of Eligibility. Agencies shall review and document a lender's eligibility for continued participation in a guaranteed loan program at least every two years. Ideally, these reviews should be conducted in conjunction with on-site reviews of lender operations (see B.3) or other required reviews, such as renewal of a lender agreement (see B.2). Lenders not meeting standards for continued participation should be decertified. In addition to the participation criteria above, guarantor agencies should consider lender performance as a critical factor in determining continued eligibility for participation.

  2. Fees. When authorized and appropriated for such purposes, agencies should assess non-refundable fees to defray the costs of determining and reviewing lender eligibility.

  3. Decertification. Guarantor agencies should establish specific procedures to decertify lenders or take other appropriate action any time there is:

(1) Significant and/or continuing non-conformance with agency standards; and/or

(2) Failure to meet financial and capital requirements or other eligibility criteria.

Agency procedures should define the process and establish timetables by which decertified lenders can apply for reinstatement of eligibility for Federal guaranteed loan programs.

  1. Loan Servicers. Lenders transferring and/or assigning the right to service guaranteed loans to a loan servicer should use only servicers meeting applicable standards set by the Federal guarantor agency. Where appropriate, agencies may adopt standards for loan servicers established by a Government Sponsored Enterprise (GSE) or a similar organization (e.g., Government National Mortgage Association for single family mortgages) and/or may authorize lenders to use servicers that have been approved by a GSE or similar organization.

2. Lender Agreements. Agencies should enter into written agreements with lenders that have been determined to be eligible for participation in a guaranteed loan program. These agreements should incorporate general participation requirements, performance standards and other applicable requirements of this Circular. Agencies are encouraged, where not prohibited by authorizing legislation, to set a fixed duration for the agreement to ensure a formal review of the lender eligibility for continued participation in the program.

  1. General Participation Requirements.

(1) Requirements for lender eligibility, including participation criteria, eligibility reviews, fees, and decertification (see Section 1, above);

(2) Agency and lender responsibilities for sharing the risk of loan defaults (see
Section II.3. a.(1)); and, where feasible

(3) Maximum delinquency, default and claims rates for lenders, taking into account individual program characteristics.

  1. Performance Standards. Agencies should include due diligence requirements for originating, servicing, and collecting loans in their lender agreements. This may be accomplished by referencing agency regulations or guidelines. Examples of due diligence standards include collection procedures for past due accounts, delinquent debtor counseling procedures and litigation to enforce loan contracts.

    Agencies should ensure, through the claims review process, that lenders have met these standards prior to making a claim payment. Agencies should reduce claim amounts or reject claims for lender non-performance.

  2. Reporting Requirements. Federal credit granting agencies should require certain data to monitor the health of their guaranteed loan portfolios, track and evaluate lender performance and satisfy OMB, Treasury, and other reporting requirements which include the <Treasury Report on Receivables (TROR)>. Examples of these data which agencies must maintain include:

(1) Activity Indicators -- number and amount of outstanding guaranteed loans at the beginning and end of the reporting period and the agency share of risk; number and amount of guaranteed loans made during the reporting period; and number and amount of guaranteed loans terminated during the period.

(2)
Status Indicators -- a schedule showing the number and amount of past due loans by "age" of the delinquency, and the number and amount of loans in foreclosure or liquidation (when the lender is responsible for such activities).

Agencies may have several sources for such data, but some or all of the information may best be obtained from lenders and servicers. Lender agreements should require lenders to report necessary information on a quarterly basis (or other reporting period based on the level of lending and payment activity).

  1. Loan Servicers. Lender agreements must specify that loan servicers must meet applicable participation requirements and performance standards. The agreement should also specify that servicers acquiring loans must provide any information necessary for the lender to comply with reporting requirements to the agency. Servicers may not resell the loans except to qualified servicers.

3. Lender and Servicer Reviews. To evaluate and enforce lender and servicer performance, agencies should conduct on-site reviews. Agencies should summarize reviews findings in written reports with recommended corrective actions and submit them to agency review boards. (See Section I.4.b.(1).)

Reviews should be conducted biennially where possible; however, agencies should conduct annual on-site reviews all lenders and servicers with substantial loan volume or whose:

  1. Financial performance measures indicate a deterioration in their guaranteed loan portfolio;

  2. Portfolio has a high level of defaults for guaranteed loans less than one year old;

  3. Overall default rates rise above acceptable levels; and/or

  4. Poor performance results in collecting monetary penalties or an abnormally high number of reduced or rejected claims.

    Agencies are encouraged to develop a lender/servicer classification system which assigns a risk rating based on the above factors. This risk rating can be used to establish priorities for on-site reviews and monitor the effectiveness of required corrective actions.

    Reviews should be conducted by guarantor agency program compliance staff, Inspector General staff, and/or independent auditors. Where possible, agencies with similar programs should coordinate their reviews to minimize the burden on lenders/servicers and maximize use of scarce resources. Agencies should also utilize the monitoring efforts of GSEs and similar organizations for guaranteed loans that have been <"pooled">.

4. Corrective Actions. If a review indicates that the lender/servicer is not in conformance with all program requirements, agencies should determine the seriousness of the problem. For minor non-compliance, agencies and the lender or servicer should agree on corrective actions. However, agencies should establish penalties for more serious and frequent offenses. Penalties may include loss of guarantees, reprimands, probation, suspension, and decertification.

IV. MANAGING THE FEDERAL GOVERNMENT'S RECEIVABLES

Agencies must service and collect debts, including defaulted guaranteed loans they have acquired, in a manner that best protects the value of the assets. Mechanisms must be in place to collect and record payments and provide accounting and management information for effective stewardship. Agencies should collect data on the status of their portfolios on a monthly basis although they are only required to report quarterly. These servicing activities can be carried out by the agency, or by third parties (such as private lenders or guaranty agencies), or a contract with a private sector firm. Unless Otherwise exempt, the <Debt Collection Improvement Act of 1996 (DCIA)>, codified at <31 U.S.C.§ 3711>, requires Federal agencies to transfer any non-tax debt which is over 180 days delinquent to the Department of the Treasury/FMS for debt collection action (31 C.F.R. Part 285). Under certain conditions, it may be advantageous to sell loans or other debts to avoid the necessity of debt servicing.

1. Accounting and Financial Reporting.

REFERENCES:

Statutory

DCA, Chief Financial Officers Act (CFO) of 1990, Government Performance and Results Act, Federal Credit Reform Act of 1990, 31 U.S.C. § 3719, 31 U.S.C. § 3711, 2 U.S.C. § 661

Regulatory

31 C.F.R. Part 285, OMB Circular No. A-127

Guidance

JFMIP Standards on Direct and Guaranteed Loans, Instructions for the Treasury Report on Receivables Due from the Public (TROR), Treasury/FMS "Managing Federal Receivables," Federal Accounting Standards Advisory Board - "Accounting for Direct Loans and Loan Guarantees," Statement of Federal Financial Accounting Standards No. 2, as amended," "Amendments to Accounting Standards for Direct Loans and Loan Guarantees," Statement of Federal Financial Accounting Standards No. 18.

  1. Accounting and Financial Reporting Systems. Agencies shall establish accounting and financial reporting systems to meet the standards provided in this Circular, <OMB Circular No. A-127, "Financial Management Systems">, <"JFMIP Standards on Direct and Guaranteed Loans">, and other government-wide requirements. These systems shall be capable of accounting for obligations and outlays and of meeting the <reporting requirements of OMB> and <Treasury>, including those associated with the <Federal Credit Reform Act of 1990> and the <Chief Financial Officers (CFO) Act of 1990>.

  2. Agency Reports. Agencies should use comprehensive reports on the status of loan portfolios and receivables to evaluate management effectiveness. Agencies shall prepare, in accordance with the CFO Act and OMB guidance, annual financial statements that include loan programs and other receivables. Agencies should also collect data for program performance measures (such as default rates, purchase rates, recovery rates, subsidy rates [actual vs. projected], and administrative costs) consistent with the <Government Performance and Results Act of 1993> (GPRA) and <Federal Credit Reform Act of 1990>.

    Agencies are also required to report periodically to Treasury on the status and condition of their non-tax delinquent portfolio on the <TROR>. Due to a timing difference between the submissions of fiscal year-end data for the TROR, and data used for agency financial statements (the fiscal year-end receivables report is due in November and agency financial statements are not due until February/March of the following year), the data in these two reports may not be identical. Agencies should be able to explain differences and show the relationship of information contained in the two reports, but the reports are not required to reconcile.

2. Loan Servicing Requirements. Agency servicing requirements, whether performed in-house or by another agency or private sector firm, must meet the standards described below and in the Treasury/FMS publication <Managing Federal Receivables>.

REFERENCES:

Statutory

Privacy Act of 1974, Debt Collection Act of 1982 (DCA), Debt Collection Improvement Act of 1996 (DCIA), 31 U.S.C. § 3711

Guidance

Treasury/FMS' "Managing Federal Receivables," and the "Guide to the Federal Credit Bureau Program"

  1. Documentation. Approved loan files (or other systems of records) shall contain adequate and up-to-date information reflecting terms and conditions of the loan, payment history, including occurrences of delinquencies and defaults, and any subsequent loan actions which result in payment deferrals, refinancing, or rescheduling.

  2. Billing and Collections. Agencies shall ensure that there is routine invoicing of payments, and that efficient mechanisms are in place to collect and record payments. When making payments and where appropriate, borrowers should be encouraged to use agency systems established by Treasury which collect payments electronically, such as pre-authorized debits and credit cards.

  3. Escrow Accounts. Agency servicing systems must process tax and insurance deposits for housing and other long-term real estate loans through escrow accounts. Agencies should establish escrow accounts at the time of loan origination and payments for housing and other long-term real estate loans through an escrow account.

  4. Referring Account Information to Credit Reporting Agencies. Agency servicing systems must be able to identify and refer debts to credit bureaus in accordance with the requirements of <31 U.S.C. § 3711>. Agencies shall refer all non-tax, non-tariff commercial accounts (current and delinquent) and all delinquent non-tariff and non-tax consumer accounts. Agencies may report current consumer debts as well and are encouraged to do so. The reporting of current data (in addition to any delinquencies) provides a truer picture of indebtedness while simultaneously reflecting accounts that the borrower has maintained in good standing. There is no minimum dollar threshold, i.e., accounts (debts) owed for as low as $5 may be referred to credit reporting agencies. Agencies shall require lenders participating in Federal loan programs to provide information relating to the extension of credit to consumer or commercial credit reporting agencies, as appropriate. For additional information, agencies should refer to Treasury/FMS' <Guide to the Federal Credit Bureau Program>.

3. Asset Resolution

REFERENCES:

Statutory

DCIA, 31 U.S.C. § 3711(i)
Federal Credit Reform Act of 1990, 2 U.S.C. § 661

Guidance

OMB Circular No. A-11, Section 85.7, OMB Circular No. A-34

  1. The DCIA, as codified at <31 U.S.C. § 3711(i)> authorizes agencies to sell any non-tax debt owed to the United States that is more than 90 days delinquent, subject to the provisions of the <Federal Credit Reform Act of 1990>. The Administration's budget policy is that agencies are required to sell any non-tax debts that are delinquent for more than one year for which collection action has been terminated, if the Secretary of the Treasury determines that the sale is in the best interest of the United States Government. Agencies are required to sell the debts for cash or a combination of cash and profit participation, if such an arrangement is more advantageous to the government, and make the sales without recourse. Loan sales should result in shifting agency staff resources from servicing to mission critical functions.

    Beginning in FY 2000, for programs with $100 million in assets (unpaid principal balance) that are delinquent for more than two years, the agency is expected to dispose of assets expeditiously. (See <OMB Circular No. A-11>.) Agencies may request from OMB, an exception for the following:

(1) Loans to foreign countries and entities;

(2) Loans in structured forbearance, when conversion to repayment status is expected within 24 months or after statutory requirements are met;

(3) Loans that are written off as unenforceable e.g., due to death, disability, or bankruptcy;

(4) Loans that have been submitted to Treasury for offset and are expected to be extinguished within three (3) years;

(5) Loans in adjudication or foreclosure; and

(6) Student loans.

Agencies shall provide to OMB an annual list of loans that are exempted.

  1. Evaluate Asset Portfolio. On an annual basis, agencies shall take steps to evaluate and analyze existing asset portfolios and programs associated therewith, to determine if there are avenues to:

(1) Improve Credit Management and Recoveries. Improvement in current management, performance, and recoveries of asset portfolios shall be reviewed against current marketplace practices;

(2)
Realize Administrative Savings. Analyses of current asset portfolio practices shall include the benefit of transferring all or some portion of the portfolio to the private sector. Agencies shall develop a staffing utilization plan to ensure that when asset sales result in a decreased workload, staff are shifted to priority workload mission critical functions.

(3)
Initiate Prepayment. Agencies shall initiate prepayment programs when statutorily mandated or, if upon analysis of an existing asset portfolio practice, it is deemed appropriate. Prepayment programs may be initiated without the approval of OMB. Delinquent borrowers may participate in a prepayment program only if past due principal, interest, and charges are paid in full prior to their request to prepay the balance owed.

  1. Financial Asset Services. Agencies shall engage the services of outside contractors as deemed necessary to assist in its asset resolution program. Contractors providing various types of asset services are available through the <General Services Administration's Multiple Award Schedule for Financial Asset Services> as follows:

(1) Program Financial Advisors;

(2) Transaction Specialists

(3) Due Diligence Contractors;

(4) Loan Service/Asset Managers; and

(5) Equity Monitors/Transaction Assistants.

  1. Loan Asset Sales Guidelines. OMB and Treasury jointly will update existing guidelines and procedures to implement loan prepayment and loan asset sales. In accordance with the agreed upon procedures, agencies conducting such prepayment and loan asset sales programs will consult with both OMB and Treasury throughout the prepayment and loan asset sales processes to ensure consistency with the agreed upon policies and guidelines. Unless an agency can document from their past experience that the sale of certain types of loan assets is not economically viable, a financial advisor shall be engaged by each agency to conduct a portfolio valuation and to compare pricing options for a proposed prepayment plan or loan asset sale. Based on the financial advisor's report, the agencies will develop a prepayment or loan asset sales schedule and plan, including an analysis of the pricing option selected. As part of the ongoing consultation between OMB, Treasury, and the agencies, prior to proceeding with their prepayment or loan asset sales, the agencies will submit their final prepayment or loan asset sales plans and proposed pricing options to OMB and Treasury for review in order to ensure that any undue cost to the Government or additional subsidy to the borrower is avoided. The agency Chief Financial Officer will certify that an agency loan prepayment and loan asset sales program is in compliance with the agreed upon guidelines. See <Asset Sales Guidelines>.

V. DELINQUENT DEBT COLLECTION

Agencies shall have a fair but aggressive program to recover delinquent debt, including defaulted guaranteed loans acquired by the Federal Government. Each agency will establish a collection strategy consistent with its statutory authority that seeks to return the debtor to a current payment status or, failing that, maximize collection on the debt.

1. Standards for Defining Delinquent and Defaulted Debt

REFERENCES:

Statutory

DCA/DCIA/31 U.S.C. §§ 3701, 3711-3720D

Regulatory

Federal Claims Collection Standards, 31 C.F.R. Section 900.2(b)

Guidance

Treasury/FMS' "Managing Federal Receivables"

The Federal Claims Collections Standards define delinquent debt in general terms. Agency regulations may further define delinquency to meet specific types of debt or program requirements.

  1. Direct Loans. Agencies shall consider a direct loan account to be delinquent if a payment has not been made by the date specified in the agreement or instrument (including a post-delinquency payment agreement), unless other satisfactory payment arrangements have been made.

  2. Guaranteed Loans. Loans guaranteed or insured by the Federal Government are in default when the borrower breaches the loan agreement with the private sector lender. A default to the Federal Government occurs when the Federal credit granting agency repurchases the loan, pays a loss claim or pays reinsurance on the loan. Prior to establishing a receivable on the agency financial records, each agency must consider statutory and regulatory authority applicable to the debt in order to determine if the agency has a legal right to subject the debt to the collection provisions of this Circular.

  3. Other Debt. Overpayments to contractors, grantees, employees, and beneficiaries; fines; fees; penalties; and other debts are delinquent when the debtor does not pay or resolve the debt by the date specified in the agency's initial written demand for payment (which generally should be within 30 days from the date the agency mailed notification of the debt to the debtor).

2. Administrative Collection of Debts.

REFERENCES:

Statutory

15 U.S.C. § 1673(a)(2), 31 U.S.C. § 3701, §§ 3711-3720E, 26 U.S.C. § 6402, 5 U.S.C. § 5514, Fair Debt Collection Practices Act

Regulatory

31 C.F.R. Part 285, Federal Claims Collection Standards, 31 C.F.R. Part 901, Federal Claims Collections Standards, 5 C.F.R. 550 Part K, 26 C.F.R. 301.6402-1 through 7, Federal Acquisitions Regulations, Subpart 32.6

Guidance

Treasury/FMS "Managing Federal Receivables" and FMS Cross-servicing/Offset Guidance Documents, Treasury's/FMS' "Guide to the Federal Credit Bureau Program"

Agencies shall promptly act on the collection of delinquent debts, using all available collection tools to maximize collections. Agencies shall transfer debts delinquent 180 days or more to the Treasury/FMS or Treasury-designated debt collection centers for further collection actions and resolution. Exceptions to this requirement (e.g., the debt has been referred for litigation) can be found in <31 U.S.C.§ 3711> and <31 C.F.R. Part 285.12(d)>.

  1. Collection Strategy. Agencies shall maintain an accurate and timely reporting system to identify and monitor delinquent receivables. Each agency shall develop a systematic process for the collection of delinquent accounts. Collection strategies shall take full advantage of available collection tools while recognizing program needs and statutory authority.

  2. Collection Tools for Debts Less than 180 Days Delinquent. Agencies may use the following collection tools when the debt is fewer than 180 days delinquent:

(i) Demand Letters. As soon as an account becomes delinquent, agencies should send demand letters to the debtor. The demand letter must give the debtor notice of each form of collection action and type of financial penalty the agency plans to use. Additional demand letters may be sent if necessary. See <31 U.S.C.§ 3711> <31 C.F.R. Parts 285 and 901.2>.

For consumer accounts, the first demand letter or initial billing notice should include the 60 day notification requirement of the agency's intent to refer to a credit bureau. Once the 60 day period has passed, the agency should initiate reporting if the account has not been resolved. This will also enable uninterrupted reporting to credit bureaus by cross-servicing agencies. The 60 day notification of intent to refer to a credit bureau is not required for commercial accounts. (See Treasury/FMS' <Guide to the Federal Credit Bureau Program>.)

(ii)
Internal Offset. If the agency that is owed the debt also makes payments to the debtor, the agency may use internal offset to the extent permitted by that agency's statutes and regulations and the common law. Delinquent debts owed by an agency's employees may be offset in accordance with statutes and regulations administered by the Office of Personnel Management. See <OPM regulations and statutes>.

(iii)
Treasury Offset Program. Agencies may collect delinquent debt, which is less than 180 days delinquent, by referring those debts to Treasury/FMS in order to offset Federal payments due to the debtor. Payments, which Treasury will offset, include certain benefit payments, federal retirement payments, salaries, vendor payments and tax refunds. <31 U.S.C. Section 3716>, <31 U.S.C. § 3720A>, <31 C.F.R. Part 285>,< 26 C.F.R. 301.6402>, <31 C.F.R. Chapter II, Part 901.3>, and, <Federal Acquisition Regulations Subpart 32.6>. If a Federal payment has not yet been initiated in the Treasury Offset Program, agencies may request that the paying agency perform the offset.

(iv)
Administrative Wage Garnishment. Agencies have the authority to administratively garnish the wages of delinquent debtors in order to recover delinquent debt. The maximum garnishment for any one debt is 15% of disposable pay. Multiple garnishments from all sources against one debtor's wages may not exceed 25% of disposable pay of an individual. <31 U.S.C. § 3720D>, <31 C.F.R. Part 285.11> and 15 U.S.C. § 1673(a)(2).

(v)
Contracting with Private Collection Agencies. Treasury has contracted with private collection agencies that may be used by Federal agencies to provide assistance in the recovery of delinquent debt owed to the Government. <31 U.S.C. § 3711>, <31 U.S.C. § 3718>, <31 C.F.R. Parts 285, and 901>, <Fair Debt Collection Practices Act >. Agencies may also transfer debts to Treasury prior to 180 days for the purpose of referral to private collection agencies.

(vi)
Treasury Cross-Servicing. Agencies may transfer debts to Treasury for full servicing at any time after the due process requirements. (See <31 C.F.R. Part 285>.)

  1. Collection of Debts Which are Over 180 Days Delinquent. This paragraph sets forth Treasury's collection procedures for debts which are over 180 days delinquent.

(i) Treasury Offset Program. The DCIA requires that all agencies recover debt delinquent more than 180 days by referring those debts to the Treasury for offset of tax refunds and other Federal payments. Agencies must refer all accounts for offset in accordance with guidance provided by the Department of the Treasury/FMS. <Federal Claims Collection Standards>, <31 U.S.C. § 3716>, <31 U.S.C. § 3720A> and <31 C.F.R. Part 285>. The following types of offset are undertaken in the Treasury Offset Program (TOP):

(1) Tax Refund Offset;

(2) Vendor Offset;

(3) Federal Retirement Offset;

(4) Salary Offset;

(5) Benefit Offset (At the time of publication, benefit payments have not been incorporated into the program. Benefit payments, such as Social Security Administration (SSA), Black Lung and Railroad Retirement Benefits (RRB) will be added in the future.); and

(6) Other Federal payments as allowed by law (as such payments are allowed into the program).

(ii) Cross-Servicing. The DCIA requires that all debts owed to agencies which are more than 180 days delinquent shall be transferred to Treasury/FMS or a Treasury-designated debt collection center for servicing. The DCIA contains provisions and requirements for exempting certain classes of debts from being transferred for servicing <www.treas.fms.gov/debt>.(See <31 U.S.C. § 3711>, and <31 C.F.R. Part 285>.) Once debts are transferred to Treasury, agencies must cease all collection activities other than maintaining accounts for the Treasury Offset Program.

Once Treasury has received a debt for servicing, the appropriate debt collection actions will be taken. These actions may include sending demand letters; phone calls to delinquent debtors; credit bureau reporting; referring debtors to the Treasury Offset Program; referring debtors to private collection agencies; administrative wage garnishment; and any other available debt collection tool.

3. Referrals to the Department of Justice.

A. Referral for Litigation

REFERENCES:

Statutory

31 U.S.C. § 3711, 28 U.S.C. §§ 3001, 3002(1)

Regulatory

31 C.F.R. Part 904, Federal Claims Collection Standards

Guidance

Department of the Treasury/FMS "Litigation Referral Process Handbook," and "Managing Federal Receivables," Appendix 8

Agencies, including Treasury/FMS or Treasury-designated debt collection centers, shall refer delinquent accounts to the Department of Justice, or use other litigation authority that may be available, as soon as there is sufficient reason to conclude that full or partial recovery of the debt can best be achieved through litigation. Referrals to Justice should be made in accordance with the <Federal Claims Collection Standards>. If the debtor does not come forward with a voluntary payment after the claim has been referred for litigation, a lawsuit shall be initiated promptly.

  1. In consultation with the Department of Justice, agencies shall establish a system to account for: (a) claims referred to Justice, and (b) claims closed by Justice and returned to the respective agencies.

  2. Agencies shall accelerate claim referrals to the Department of Justice in those districts where the Department of Justice contracts with private law firms for debt collection.

  3. Agencies shall stop the use of any collection activities including TOP and refrain from further contact with the debtor once a claim has been referred to the Department of Justice, unless the Department of Justice agrees to allow the debtor(s) to remain in TOP for offset while they pursue other legal remedies.

  4. Agencies shall promptly notify the Department of Justice of any payments received on a debtor's account after referral of the claim for litigation.

  5. The Department of Justice shall account to agencies for monies or property collected on claims referred by the agencies.

B. Referral for Approval of Compromise Offer

REFERENCES:

Statutory

31 U.S.C. § 3711

Regulatory

31 C.F.R. Part 902, Federal Claims Collection Standards

Guidance

Treasury/FMS' "Managing Federal Receivables"

Agencies may compromise a debt within their jurisdiction when the principal balance of the debt is less than $100,000 (or any higher amount authorized by the U.S. Attorney General). Unless otherwise provided by law, when the principal balance of the debt is greater than $100,000 (or any higher amount authorized by the U.S. Attorney General), the compromise authority rests with the Department of Justice. <31 C.F.R. Part 902.>

C. Referral for Approval to Terminate Collection Activity

REFERENCES:

Statutory

31 U.S.C. § 3711

Regulatory

31 C.F.R. Part 902, Federal Claims Collection Standards

Guidance

Treasury/FMS' "Managing Federal Receivables"

Agencies may terminate collection on a debt within their jurisdiction when the principal balance of the debt is less than $100,000 (or any higher amount authorized by the U.S. Attorney General). Unless otherwise provided by law, when the principal balance of the debt is greater than $100,000 (or any higher amount authorized by the U.S. Attorney General), the authority to terminate rests with the Department of Justice. (See <31 C.F.R. Part 902>.)

4. Interest, Penalties and Administrative Costs.

REFERENCES:

Statutory

31 U.S.C. § 3717

Regulatory

Federal Claims Collection Standards, 31 C.F.R. Part 901.9

Guidance

Treasury's "Managing Federal Receivables," Chapter 4

Interest, penalties and administrative costs should be added to all debts unless a specific statute, regulation, loan agreement, contract, or court order prohibits such charges or sets criteria for their assessment. Agencies shall assess late payment interest on delinquent debts. Further, agencies shall assess a penalty charge of not more than six percent (6%) per year for failure to pay a debt more than ninety (90) days past due, unless a statute, regulation required by statute, loan agreement, or contract prohibits charging interest or assessing charges or explicitly fixes the interest rate or charges. (See <31 U.S.C. § 3717(e) and (g)>). A debt is delinquent when the scheduled payment is not paid in full by the payment due date contained in the initial demand letter or by the date specified in the applicable agreement or instrument. Agencies shall assess administrative costs to cover the cost of processing and handling delinquent debt. Agencies must adjust the interest rate on delinquent debt to conform with the rate established by a U.S. Court when a judgment has been obtained.

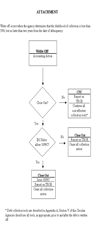
5. Termination of Collection, Write-Off, Use of Currently Not Collectible (CNC), and Close- Out.

REFERENCES:

Statutory

31 U.S.C. § 3711; 26 C.F.R Part 1. 6050P-O, 26 C.F.R Part 1. 6050P-1

Regulatory

31 C.F.R. Part 903 Federal Claims Collection Standards, 26 C.F.R. Part 1.6050P-1

Guidance

FCPWG Final Report on Write-off Policy, Dated 12/15/98, Treasury/FMS "Managing Federal Receivables"

All debt must be adequately reserved for in the allowance account. All write-offs must be made through the allowance account. Under no circumstances are debts to be written off directly to expense.

Generally, write-off is mandatory for delinquent debt older than two years unless documented and justified to OMB in consultation with Treasury. Once the debt is written-off, the agency must either classify the debt as currently not collectible (CNC) or close-out the debt. Cost effective collection efforts should continue, specifically, if an agency determines that continued collection efforts after mandatory write-off are likely to yield higher returns. In such cases the written-off debt is not closed out but classified as CNC. The collection process continues until the agency determines it is no longer cost effective to pursue collection. At that point, the debt should be closed-out.

Under no circumstances should internal controls be compromised by the write-off or reclassification of debt. Very small percentages of debt older than two years can frequently result in amounts that, while immaterial to the overall debt and write-off balances, are large enough to pose a risk of fraud and abuse. If collection efforts are on-going then adequate internal controls must be maintained.

In those cases where material collections can be documented to occur after two years, debt cannot be written off until the estimated collections become immaterial.

During the period debts are classified as CNC, agencies should maintain the debt for administrative offset and other collection tools, as described in the <FCCS> until: (1) the debt is paid; (2) the debt is closed out; or (3) all collection actions are legally precluded; or (4) the debt is sold, whichever occurs first. When an agency closes out a debt, the agency must file a <Form 1099C> with the Internal Revenue Service (IRS) and notifiy the debtor in accordance with the Internal Revenue Code <26 U.S.C. § 6050P> and IRS regulations <26 C.F.R. Part 1.6050O-P>. The 1099C reports the uncollectible debt as income to the debtor which may be taxable at the debtor's current tax rate. Reporting the discharge of indebtedness to the IRS results in a potential benefit to the Federal Government, because any payments made to the IRS augment government receipts. Agencies should report closed-out debts on the Treasury Report on Receivables Due from the Public (TROR). Agencies must stop all collection activity, including the sale of debts, once debts are closed out. Agencies must not close out debts which have been sold or are scheduled to be sold.

Note: "Termination" and "suspension of collection" are legal procedures, which are separate and distinct from the accounting procedure of "write-off." Agencies shall consult the <Federal Claims Collection Standards, Part 903> for requirements which must be met prior to terminating or suspending collection (See the attached Write-off/Close-out Process [Flowchart] for Receivables.)

APPENDIX B

Checklist for Credit Program Legislation, Testimony, and Budget Submissions

The following checklist provides guidelines to be followed in reviewing credit program legislation, testimony, and budget submissions.

The checklist is to be used by agencies and OMB in proposing legislation, reviewing credit proposals, and preparing testimony on credit activities. If the proposed provisions or language are not in conformity with the policies of this Circular as listed in these checklists, agencies will be required to request in writing that the Office of Management and Budget modify or waive the requirement. Waiver request forms are available from OMB for this purpose. Such requests will identify the modification(s) or waiver(s) requested, and also will state the reasons for the request and the time period for which the exception is required. Exceptions, when allowed, will ordinarily be granted only for a limited time, in order to allow for continuing review by OMB.

Agencies are to use the checklist in the budget submission process for the evaluation of existing legislation, regulations, or program policies. The OMB program examiner with primary responsibility for the credit account will determine the use of this checklist. Use of the list includes review of changes in financial markets and the status of borrowers and beneficiaries to ensure that Federal objectives require continuation of the credit program. If these policies are found to be not in conformity with the policies of this Circular, agencies will propose changes to correct the inconsistency in their annual budget submission and justification to OMB and the Congress. When an agency does not deem a change in existing legislation, regulations, or policies to be desirable, it will provide a justification for retaining the existing non-conforming legislation or policies in its budget submission to OMB at the request of the budget examiner.

Checklist -- Federal credit program justification should include the following elements:

  1. Program title: _______________________

  2. Form of Assistance (direct or guarantee): __________________

  3. Federal objectives of this program: (II.1.a.)

  4. Reasons why Federal credit assistance is the best means to achieve these objectives: (II.1.a.)

  5. Any draft bill establishing a credit program should contain the following:

    Authorization to extend direct loans or make loan guarantees subject to the requirements of the <Federal Credit Reform Act of 1990>, as amended.

    Authorization and requirement for a subsidy appropriation.

    Cap on volume of obligations or commitments. (II.3.e.)

    Terms and conditions defined sufficiently and precisely enough to estimate subsidy rate. (State estimated subsidy of this program (rate and dollar amount).) (II.1.e.)

    Authorization of administrative expenses.

  6. Describe briefly the existing and potential private sources of credit (and type of institution): (I.1.a.(2)(a)

  7. Explain reasons why private sources of financing and their terms and conditions must be supplemented and subsidized, including:

    • to correct a defined capital market imperfection;

    • to subsidize identified borrowers or other beneficiaries; and/or

    • to encourage certain specified activities. (II.1.a.(1).

  8. State reasons why a federal credit subsidy is the most efficient way of providing assistance, how it provides assistance in overcoming market imperfections, and how it assists the identified borrowers or beneficiaries or encourages the identified activities. (II.1.b.)

  9. Summarize briefly the benefits expected from the program. Can the value of these benefits (or some of these benefits) be estimated in dollar terms? If so, state the estimate of their value. Further information on conducting cost-benefit analysis can be found in <OMB Circular No. A-94>. (II.1.c.)

  10. Describe any elements of program design which encourage and supplement private lending activity, such that private lending is displaced to the smallest degree possible by agency programs. (II.1.d.)

  11. Estimate the expected administrative (including origination, servicing, and collection) resource requirements and costs of the credit program (dollar amounts over next 5 fiscal years). (II.1.f.)

  12. Prohibitions: (II.2.c.&d.)

    Agencies will not guarantee federally tax-exempt obligations directly or indirectly.

    Agencies will not subordinate direct loans to tax-exempt obligations and will provide that effective subordination of guaranteed loans to tax-exempt obligations will render the guarantee void.

    Risk sharing: (II.3.a.)

    • Lenders and borrowers share a substantial stake in full repayment according to the loan contract.

    • Private lenders who extend Government guaranteed credit bear at least 20 percent of any potential losses.

    • Borrowers deemed to pose less of a risk receive a lower guarantee as a percentage of the total loan amount.

    • Borrowers have an equity interest in any asset being financed by the credit assistance.

Fees and interest rates: (II.3.b)

    • Interest and fees are set at levels that minimize default and other subsidy costs.

    • Interest rates charged to borrowers (or interest supplements) not set at an absolute level, but instead set by reference to the rate (yield) on benchmark Treasury.


Protecting the Government's interest:

    • Contractual agreements include all covenants and restrictions (e.g., liability insurance) necessary to protect the Federal Government's interest. (II.3.c.)

    • Maturities on loans shorter than the estimated useful economic life of any assets financed. (II.3.c.(1))

    • The Government's claims on assets not subordinated to the claim of other lenders in the case of a borrower's default. (II.3.c.(2))

    • Loan contracts to be standardized and private sector documents used to the extent possible. (II.3.f.)

  1. Describe the methods used to evaluate the program and the results of evaluations that have been made. (II.4.c.(1))

APPENDIX C

Model Bill Language for Credit Programs

A Bill

Be it enacted by the Senate and House of Representatives of the United States of America in Congress assembled,

That, this Act may be cited as " ".

AUTHORIZATION

Sec.2.(a) The Administrator is authorized to make or guarantee loans to ...(Define eligible applicants).

(b) There are authorized to be appropriated $___________ for the cost of direct loans or loan guarantees authorized in subsection (1) and $______ for administrative expenses for for fiscal year ________ and such sums as shall be necessary for each fiscal year thereafter. [The amounts authorized must be consistent with the amounts proposed in the President's budget for that fiscal year. Generally, a specific amount should be specified for the first fiscal year and sums for subsequent fiscal years (see <OMB Circular No. A-19>.)

(c[formerly Sec.3,15]) Within the resources and authority available, gross obligations for the principal amount of direct loans offered by the Administrator will not exceed $__________, or the amount specified in appropriations acts for fiscal year _______ and such sums as shall be necessary for each fiscal year thereafter. Commitments to guarantee loans may be made by the Administrator only to the extent that the total loan principal, any part of which is guaranteed, will not exceed $____, or the amount specified in appropriations acts for fiscal year _______ and such sums as shall be necessary for each fiscal year thereafter.

TERMS AND CONDITIONS

Sec.3. Loans made or guaranteed under this Act will be on such terms and conditions as the Administrator may prescribe, except that:

(a) The Administrator will allow credit to any prospective borrower only when it is necessary to alleviate a credit market imperfection, or when it is necessary to achieve specified Federal objectives by providing a credit subsidy and a credit subsidy is the most efficient way to meet those objectives on a borrower-by-borrower basis.

(b) The final maturity of loans made or guaranteed within a period shall not exceed _____ years, or _____percent of the useful life of any physical asset to be financed by the loan, whichever is less as determined by the Administrator.

(c) No Loan guaranteed to any one borrower will exceed 80% of the loss on the loan. Borrowers who are deemed to pose less of a risk will receive a lower guarantee as a percentage of the loan amount.

(d) No loan made or guaranteed will be subordinated to another debt contracted by the borrower or to any other claims against the borrowers in the case of default.

(e) No loan will be guaranteed unless the Administrator determines that the lender is responsible and that adequate provision is made for servicing the loan on reasonable terms and protecting the financial interest of the United States.

(f) No loan will be guaranteed if the income from such loan is excluded form gross income for the purposes of <Chapter 1 of the Internal Revenue Code of 1986>, as amended, or if the guarantee provides significant collateral or security, as determined by the Administrator, for other obligations the income from which is so excluded.

(g) Direct loans and interest supplements on guaranteed loans will be at an interest rate that is set by reference to a benchmark interest rate (yield) on marketable Treasury securities with a similar maturity to the direct loans being made or the non-Federal loans being guaranteed. The minimum interest rate of these loans will be (at) (_____percent above) (no more than ______ percent below) the interest rate of the benchmark financial instrument.

(h) The minimum interest rate of new loans will be adjusted every quarter (month(s)) (weeks) (days) to take account of changes in the interest rate of the benchmark financial instrument. (see

(i) Fees or premiums for loan guarantee or insurance coverage will be set at levels that minimize the cost to the Government (as defined in <Section 502 of the Federal Credit Reform Act of 1990>, as amended) of such coverage, while supporting achievement of the program's objectives. The minimum guarantee fee or insurance premium will be (at) (no more than _____ percent below) the level sufficient to cover the agency's costs for paying all of the estimated costs to the Government of the expected default claims and other obligations. Loan guarantee fees will be reviewed every ____ month(s) to ensure that the fees assessed on new loan guarantees are at a level sufficient to cover the referenced percentage of the agency's most recent estimates of its costs.

(j) Any guarantee will be conclusive evidence that said guarantee has been properly obtained; that the underlying loan qualified for such guarantee; and that, but for fraud or material misrepresentation by the holder, such guarantee will be presumed to be valid, legal, and enforceable.

(k) The Administrator will prescribe explicit standards for use in periodically assessing the credit risk of new and existing direct loans or guaranteed loans. The Administrator must find that there is a reasonable assurance of repayment before extending credit assistance.

(l) New direct loans may not be obligated and new loan guarantees may not be committed except to the extent that appropriations of budget authority to cover their costs are made in advance, as required in <Section 504 of the Federal Credit Reform Act of 1990>, as amended.

Payment of Losses

Sec. 4(a). If, as a result of a default by a borrower under a guaranteed loan, after the holder thereof has made such further collection efforts and instituted such enforcement proceedings as the Administrator may require, the Administrator determines that the holder has suffered a loss, the Administrator will pay to such holder _____ percent of such loss, as specified in the guarantee contract. Upon making any such payment, the Administrator will be subrogated to all the rights of the recipient of the payment. The Administrator will be entitled to recover from the borrower the amount of any payments made pursuant to any guarantee entered into under this Act.

(b) The Attorney General will take such action as may be appropriate to enforce any right accruing to the United States as a result of the issuance of any guarantee under this Act.

(c) Nothing in this section will be construed to preclude any forbearance for the benefit of the borrower which may be agreed upon by the parties to the guaranteed loan and approved by the Administrator, provided that budget authority for any resulting subsidy costs as defined under the <Federal Credit Reform Act of 1990>, as amended, is available.

(d) Notwithstanding any other provision of law relating to the acquisition, handling, or disposal of property by the United States, the Administrator will have the right in his discretion to complete, recondition, reconstruct, renovate, repair, maintain, operate, or sell any property acquired by him pursuant to the provisions of this Act.


File Typeapplication/msword
File TitleCIRCULAR NO
Authorjoyce.mcneil
Last Modified Byrebecca.hunt
File Modified2013-04-17
File Created2009-05-07

© 2025 OMB.report | Privacy Policy