NETC System Requirements Document

NETC Admissions System Requirements.doc

General Admissions Application (Long and Short) and Stipend Forms

NETC System Requirements Document

OMB: 1660-0100

Document [doc]
Download: doc | pdf

October 31, 2006


Supporting Statement for Paperwork Reduction Act Submissions


Title: General Admissions Application (Long and Short) and Stipend Forms






NETC Admissions System

Requirements Document



Volume VIII:

Web and Vehicle Modules


02/19/2003









Prepared By:

Sytel Corporation

Document Modification Record



Change

Modified By

Date

Document Accepted

Government (Darlyn Vestal)

03/20/2002

Modified to Include Phase 3 design changes

Sytel (TBlayton)

2/19/2003

Table of Contents



Appendix A: Off-Site NFA Course Certificate


Overview

This document contains the requirements for the Web Module and Vehicle Module of the NETC Admissions System. The Web Module will enable students to apply for courses and check the status of their applications and stipends online. It will also enable instructors to manage their off-site courses.


The Vehicle Module will consist of an interface between the existing NETC Vehicle Application and the Admissions System. This interface will enable the Vehicle Application to automatically update the Admissions System database with vehicle registration information.


Web Module

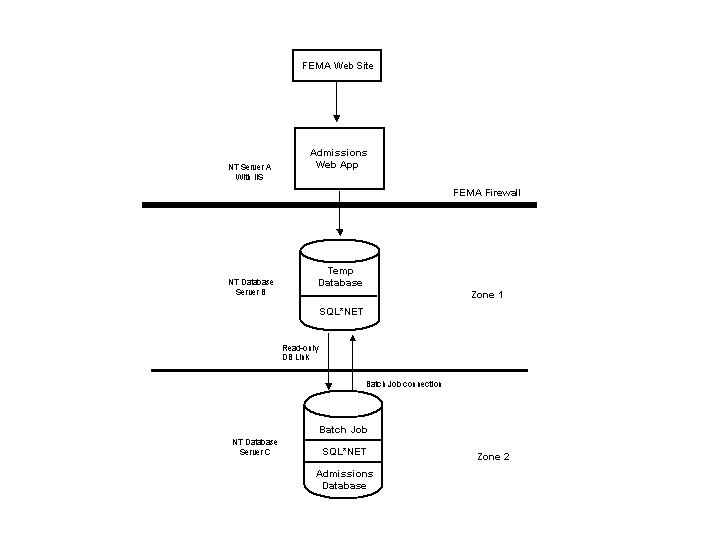
Architecture

Unlike the internal Admissions System, the Web Module will not communicate directly with the Admissions database. Instead, it will access a temporary database setup on a separate server. New application records will be saved to the temporary database then transferred to the Admissions database periodically using a batch program residing on the Admissions server. A database link will be setup between the temporary database and Admissions database to enable the Web Module to pull status and lookup table information.


Figure 1 below shows the web application architecture as it will be in production.


Figure 1: Web Module Architecture

Components

When in production, the Admissions system Web Module will be accessed via a hyperlink that the government will setup on the FEMA web site. The web module will reside on a Windows NT server (Server A) running Internet Information Server (IIS). This server will reside outside of the FEMA firewall and will therefore be accessible to anyone.


The temporary Oracle database will be setup on a Windows NT server (Server B) inside the firewall in Zone 1. This database will contain a subset of the tables in the Admissions database needed to store application information from the Web Module. SQL*Net will be installed on Server B to facilitate communication to Server A and Server C.


The Admissions database will be setup on a Windows NT server (Server C) inside the firewall in Zone 2. SQL*Net will be installed on Server C to enable communication to Server B. A batch program will also reside on Server C to pull the data from the temporary database into the Admissions database.


Data Transfer Process

A connection will be setup through the firewall between the Web Module on Server A and the temporary database on Server B. This connection will enable the web application to read data from and write data to the temporary database. Certificates will be used within the web application. A database user account will be setup on Server B for use by the Web Module. The User ID and password for the user account will be stored in the registry on Server B. The password will be encrypted using Forward Encryption (see section below entitled ‘Encryption Techniques’).


A connection will also be setup between the temporary database on Server B and the Admissions database on Server C. This connection will be accomplished through a read-only account on the Admissions database on Server C. It will be used by the batch program residing on the Admissions server to move the application data in the temporary database to the Admissions database. No data validation will be performed on the application data before moving it to the Admissions database.


Another user account will be setup for the batch program on Server B. The User ID and password will be stored in the registry on Server B. The password will be encrypted using Reversible Encryption (see section entitled ‘Encryption Techniques’).


A read-only database link to the Admissions database will also be setup on Server B. This link will enable the Web Module to pull status and lookup table data from the Admissions database without making a direct connection to it.


Encryption Techniques

The architecture for the Admissions Web Module will use two standard types of encryption: Forward Encryption and Reversible Encryption.

Forward Encryption

Forward Encryption is a highly secure, one-way type of encryption that makes it easy to encrypt data, but extremely difficult to de-crypt it. This form of encryption will be used when connecting the Web Module to the temporary database through the firewall.


The database password will be encrypted using forward encryption and stored in the server registry. When the web module needs to connect to the database, it will ask to be authenticated, and will supply the encrypted password. The encryption program will then encrypt the database password and compare it to the encrypted password supplied. If they are equal, the correct password has been supplied. There will be almost no way to determine the password from the encrypted version of it.


Reversible Encryption

Reversible encryption is a less secure form of encryption that uses a standard algorithm to encrypt data. Thus, unlike Forward Encryption, the same algorithm can be reversed to de-crypt the data. Reversible encryption will be used for the connection between Server C and Server B which both reside behind the FEMA firewall.


General Screen Requirements

Below are the general requirements for all Web Module screens:

  • The target web browser for the web module will be Internet Explorer version 5.01, SP2 and higher.


  • The target screen resolution will be 800 x 600. Viewing the screens at a lower resolution may result in the need to scroll horizontally to view everything on the screen.


  • All field validation will be performed when the application is submitted except where specifically noted.


  • For dependent combo boxes (drop down lists) the screen will be refreshed each time a selection is submitted in order to populate the dependent fields.


508 Compliance Requirements

Each of the Web Module screens will meet the following requirements to make it 508 Compliant.


  • There will be a text equivalent for all non-text items on the screen such as images and frames so that they can be interpreted by assistive technologies.


  • There will be labels for all text so it can be read by assistive technologies.


  • All pages will be designed so that all information conveyed with color is also available without color, for example from context or markup.


  • There will be row and column headers for all tables. The ‘scope’ attribute will also be used to define table data so that it can be interpreted by assistive technologies.


  • Dependent combo boxes will be implemented in such a way that the population of the boxes can be interpreted by assistive technologies.


  • Help will be provided for each data entry field in the web module. A hyperlink will appear at the top of each data entry screen that will link to a Help screen containing the definitions of each field on that screen. The government provided the Help definitions. (See section 2.9 of this document for more information on the Help screens.)


Main Menu

When the hyperlink is clicked on the FEMA web site, the web module main menu will appear.




Fields:

  • Apply for a Course – hyperlink to the Application Intro screen.


  • Check the Status of your Application – hyperlink to the Check Application Status/Enter Student Info screen.


  • Check the Status of your Stipend – hyperlink to the Check Stipend Status/Enter Student Info screen.


  • Back to FEMA web site - hyperlink to the main FEMA web site (http://www.fema.gov) will be added at the top right corner of the page.



Add Application

Application Intro Screen

The Application Intro screen will enable the user to choose how they want to apply – via the online application or via the PDF form.




Fields:

  • Online Course Application – clicking this hyperlink will take the user to the Personal Information screen of the online application.


  • Download PDF Application – this hyperlink will take the user to the FEMA DocNet site (http://docnet.fema.gov) containing the PDF forms for download.


  • Back to FEMA web site – hyperlink to the FEMA web site (http://www.fema.gov)


  • Back to Main Menu – hyperlink back to the NETC Admissions System main menu


Online Application

The online application will enable users to apply for resident courses (delivery mode = Resident) that have a course attribute = On Campus. To apply for any other courses (delivery mode <> Resident or Delivery Mode = Resident but course attribute <> On Campus) students must apply by mail or in person. The online application will be comprised of the following screens:


  • Introduction Screen

  • Personal Information screen

  • Educational Degrees screen

  • Course Information screen

  • Organization Information screen

  • Endorsement and Certification screen


The user will be able to navigate from screen to screen using the hyperlinks at the bottom of each page. The application will not be saved until the user clicks the Submit button on the last screen. Before submitting, the user may go back to the previous screens to view what they entered and make changes if necessary.

Online Application Introduction

The introduction screen will contain the Equal Opportunity statement, Privacy Act statement, and Paperwork Burden Disclosure. The user will be required to go through this screen in order to continue with the online application process. Clicking the OK button will take them to the next screen.




Fields:


  • Main Menu – hyperlink back to the NETC Admissions main menu.


  • OK button – hyperlink to the Personal Information screen.


Personal Information

On the Personal Information screen, the user will enter their social security number, name, home address and other personal information. Since this form is an online version of the FEMA Form 75-5, the OMB number for that form will appear in the top right corner.


In the internal Admissions system, if the student has previously taken courses at NETC, their personal information is automatically populated when the student’s SSN is entered. For privacy reasons, this will not be done in the web module. No information will be automatically populated based on the SSN entered. The students will have to re-enter their personal information each time they apply online. For existing students, when the application is submitted, their personal information (DEMO record) will be updated with the information they entered.


All validation for required fields and for data formatting will occur when the user clicks ‘Next>>’ to leave the screen.





User Instructions - The following instructions will appear at the top of the screen:

  • Instructions about providing an SSN - You must provide your social security number to apply online. If you do not have an SSN or do not wish to provide your SSN you must apply by mail using the PDF version of FEMA Form 75-5. Please call the admissions office at 301-447-1035 for more information.’ The phrase ‘FEMA form 75-5’ will be a hyperlink to the FEMA DocNet site (http://docnet.fema.gov) that contains the PDF forms for download.


  • Required Fields - ‘*Fields denoted with an asterisk are required.’


Fields:

  • SSN – This field will be a text entry field accepting all characters. The user will be required to enter an SSN in the format 000-00-0000. The formatting instructions will appear after the field name.



  • US Citizen - check box indicating if the person is a US citizen. It will be unchecked by default.


  • Place of Birth (if not US Citizen) – This field will contain two separate fields. At least one of the fields will be required if US Citizen is not checked. One field will be a drop down list of countries from the COUNTRY table. The other will be a text entry field. User instructions will appear before the fields stating ‘Select a country in the Country List or if your country is not in the list enter it in the field provided.’

    • Country List – drop down list of countries from the COUNTRY table sorted alphabetically. This field will always be activated. When saving, if the US Citizen box is checked, any data selected in the Country field will not be saved to the database.

    • New Country Field – data entry field accepting all characters. Length = 25. This field will always be activated. When saving, the following validation will occur:

      • If the US Citizen box is checked, any data entered into the New Country field will not be saved to the database.

      • If US Citizen is not checked and the user both selects a country in the Country List and enters one in the New Country field, the selection in the Country List will be saved to the database and the new country entered will be ignored.

      • If US Citizen is not checked and the user enters a new country, the system will validate to make sure that the country entered does not already exist in the COUNTRY lookup table. If it does not, then it will be added to the COUNTRY table. If it does, then the existing country record will be used.

      • When adding a new country, the text will be saved to the database in all caps format.


  • Prefix – text entry field accepting all characters. Length = 10. The data entered will be saved to the database in Title case.


  • Lastname - text entry field accepting all characters. Length = 25. This field will be required. The data entered will be saved to the database in Title case.


  • Firstname - text entry field accepting all characters. Length = 25. This field will be required. The data entered will be saved to the database in Title case.


  • Middle – text entry field accepting all characters. Length =25. The data entered will be saved to the database in Title case.


  • Suffix – text entry field accepting all characters. Length = 10. The data entered will be saved to the database in Title case.


  • Street Address Line-1 - text entry field accepting all characters. Length = 35. This field will be required.


  • Street Address Line-2 - text entry field accepting all characters. Length = 35.


  • City - text entry field accepting all characters. Length = 30. This field will be required.


  • State – drop down list of state abbreviations from the STATE table. The list will be sorted alphabetically. This field will only be required when country = USA.


  • Zip - text entry field accepting only numbers and dashes. Length = 10. This field will be required if country = USA.


  • Country - This field will contain two separate fields. One will be a drop down list of countries from the COUNTRY table. The other will be a text entry field. User instructions will appear before the fields stating ‘Select a country in the Country List or if your country is not in the list enter it in the field provided.’ The user will be required to either select a country or enter a new one.

    • Country List – drop down list of countries from the COUNTRY table sorted alphabetically. This field will always be activated.

    • New Country Field – data entry field accepting all characters. Length = 25. This field will always be activated. When saving, the following validation will occur:

      • If the user both selects a country in the Country List and enters one in the New Country field, the selection in the Country List will be saved to the database and the new country entered will be ignored.

      • If the user enters a new country, the system will validate to make sure that the country entered does not already exist in the COUNTRY lookup table. If it does not, then it will be added to the COUNTRY table. If it does, then the existing country record will be used.

      • When adding a new country, the text will be saved to the database in all caps format.


  • Sex – drop down list containing two values: Male and Female. This field will be required.


  • Date of Birth (dd/mm/yyyy) – text entry field accepting all characters. This field will be required. The user will be required to enter the date in the format dd/mm/yyyy.


  • Race – drop down list of race descriptions from the RACE table.


  • Ethnicity – drop down list of ethnicity descriptions from the ETHNICITY table.


  • Home Phone (000-000-0000) – text entry field accepting numbers and dashes. Length = 18. A formatting suggestion will appear after the field name, but when the data is saved to the database, only the numbers will be saved.


  • Work Phone (000-000-0000x0000) - text entry field accepting numbers and dashes. Length = 18. A formatting suggestion will appear after the field name, but when the data is saved to the database, only the numbers will be saved. This field will be required.


  • Fax (000-00-0000) - text entry field accepting numbers and dashes. Length = 18. A formatting suggestion will appear after the field name, but when the data is saved to the database, only the numbers will be saved.


  • E-mail - text entry field accepting all characters. Length = 50.


  • Special Accommodation Required radio buttons – The text of this field will be the following: ‘Do you have any disabilities (including special allergies or medical disabilities) which would require special assistance during your attendance at NETC or MWEAC?’ The text will be followed by two radio buttons: Yes and No. As a default, neither button will be selected. The user will be required to select one of the buttons.


The following text will appear after the radio buttons: ‘If you require special accommodations, please mail or fax a description of the accommodations required to:’


National Emergency Training Center Admissions

ATTN: Special Accommodations

16825 South Seton Avenue

Emmitsburg, MD 21727

Fax: 301-447-1352


  • Help – hyperlink in the top right corner of the screen that will link to a Help screen containing definitions of each field on the screen.


  • Main Menu – hyperlink back to the NETC Admissions Main Menu.


  • Next>> - hyperlink to the Prerequisites screen. All validation for required fields and for data formatting will occur when the user clicks this hyperlink to leave the screen.


If the student did not enter data in the proper format, an error message will appear stating which field does not have correctly formatted data. When the user clicks <<Back on the message, they will return to the Personal Information screen and the cursor will be in the offending field.


The student will be required to enter data in certain fields. If the user does not fill in a required field an error message will appear when the user clicks Next>> stating ‘You did not enter data in < field name>.’ When the user clicks <<Back on the message, they will return to the Personal Information screen and the cursor will be in the offending field.


Educational Degrees

A new screen will be added to enable students to specify any education degrees received related to the course for which they are applying. This screen will be optional. The student will not be required to fill out this screen in order to submit an application.


The Educational Degrees screen will function similarly to the Educational Degrees section of the Personal Information screen in the main Admissions system. The user will specify the degree earned, date earned, field of study and institution and click the Add button to add it to the list box below. Only one degree may be specified on this screen.


All validation for data formatting will occur when the user clicks ‘Next>>’ to leave the screen.





User Instructions - The following instructions will appear at the top of the screen:

  • General Instructions – ‘Select prerequisite degrees/courses as they relate to the course for which you are applying. (This information is not required in order to apply online.)


Fields:

  • Degree/Certificate – drop down list containing the names of all degrees and certificates in the EDDEGREE lookup table.


  • Date Earned (dd/mm/yyyy) – text entry field accepting only numbers and forward slashes. The user will be required to enter the date in the format dd/mm/yyyy.


  • Course/Field of Study – drop down list containing the names of all fields of study and courses in the EDFIELD lookup table. The government will populate the lookup table with the degrees and certificates that are prerequisites for each course code. An item called ‘Other’ will also be added to the EDFIELD lookup table so that the user can indicate that they have other experience that may pertain to the course for which they are applying.


  • Institution – text entry field accepting all characters. Length = 30.


    • Help – hyperlink in the top right corner of the screen that will link to a Help screen containing definitions of each field on the screen.


  • Main Menu – hyperlink back to the NETC Admissions Main Menu.


    • Next>> - hyperlink to the Course Information screen. All validation for data formatting and required fields will occur when the user clicks this hyperlink to leave the screen.


If the student did not enter data in the proper format, an error message will appear stating which field does not have correctly formatted data. When the user clicks <<Back on the message, they will return to the Prerequisites screen and the cursor will be in the offending field.


  • <<Back – hyperlink back to the Personal Information screen.


Course Information

On the Course Information screen, the student will select the course for which they want to apply and specify their preferred offerings. For the first three fields on the screen, the user will be required to click the Go button next to the field in order to refresh the screen and populate the next field.




User Instructions: The following instructions will appear at the top of the screen:

  • General Instructions:Enter the fiscal year of the course, the school, the course code and course location. Then select the desired offering dates. After specifying the school, course code and location you must click the ‘Go’ button next to the field to activate the next field on the screen.’

  • Required Fields: ‘* Fields denoted with an asterisk are required.


Fields:

  • Fiscal Year (Oct 1 – Sept 30) – data entry field accepting only a 4-digit number. It will default to the current government fiscal year.


This field will be required. If the user does not enter a 4-digit number, an error message will appear when the Go button next to the School field is clicked stating ‘You must enter a fiscal year in the format YYYY.’


  • School – drop down list containing two items: EMI or NFA. A ‘Go’ button will appear after the field. When the user clicks this button, the screen will refresh and the Course Code field will be populated.


This field will be required. If the user does not select a school, an error message will appear when the Go button is clicked stating ‘Please specify a school.’


  • Course Code – drop down list of all course codes in the specified fiscal year and school (EMI or NFA) with Delivery Mode = Resident and Course Attribute = Resident. It will be populated when the user clicks the Go button next to the School field. As the default, nothing will be selected in the list. A Go button will appear after the field. When the user clicks this button the Location field will be populated.


This field will be required. If the user does not select a Course Code and clicks the Go button an error message will appear stating ‘Please select a Course Code.’


  • Location - drop down list containing short description of all locations where the selected course is offered in the specified FY (NETC and/or MWEAC). If there is no short description for a location in the LOCATION table then the city and state in the format ‘city, ST’ of the location will be displayed. This field will be populated when the user clicks the Go button next to the course code field. The first item in the list will be selected as the default. A Go button will appear after the field. When the user clicks this button the Offering Choice fields will be populated.


This field will be required. If the user does not select a Location and clicks the Go button an error message will appear stating ‘Please select a Location.’


  • Offering Choices – the three offering choice fields will be drop down lists containing the Start Dates of all offerings of the selected FY and Course Code at the specified Location. These fields will be populated when the user clicks the Go button next to the Location field. As the default, nothing will be selected in any of the fields.


The user will be required to populate at least one of the Offering Choice fields. If none of the fields are populated when the Next hyperlink is clicked, an error message will appear stating ‘Please specify at least one offering choice.’



  • Help – hyperlink in the top right corner of the screen that will link to a Help screen containing definitions of each field on the screen.


  • Main Menu – hyperlink back to the NETC Admissions Main Menu.


  • Next>> - hyperlink to the Organization Info screen.


  • <<Back – hyperlink back to the Prerequisites screen.


Organization Information

On the Organization Information screen the user will specify the name and address of their organization and will specify their position in the organization. All validation for required fields will occur when the user clicks ‘Next>>’ to leave the screen.



User Instructions: The following user instructions will appear at the top of the screen:

  • Required Fields: ‘* Fields denoted with an asterisk are required.


Fields:

  • NFIRS – data entry field accepting letters and numbers only. Length = 10.


  • Organization Name – text entry field accepting all characters. Length = 50. This field will be required.


  • Street Address (Line-1) - text entry field accepting all characters. Length = 35. This field will be required.


  • Street Address (Line-2) - text entry field accepting all characters. Length = 35.


  • City - text entry field accepting all characters. Length = 30. This field will be required.


  • State – drop down list of state abbreviations from the STATE table. The list will be sorted alphabetically. This field will be required only when Country = USA.


  • Zip - text entry field accepting only numbers and dashes. Length = 10. This field will be required if Country = USA.


  • Country - This field will contain two separate fields. One will be a drop down list of countries from the COUNTRY table. The other will be a text entry field. User instructions will appear before the fields stating ‘Select a country in the Country List or if your country is not in the list enter it in the field provided.’ The user will be required to either select a country or enter a new one.

    • Country List – drop down list of countries from the COUNTRY table sorted alphabetically. This field will always be activated.

    • New Country Field – data entry field accepting all characters. Length = 25. This field will always be activated. When saving, the following validation will occur:

      • If the user both selects a country in the Country List and enters one in the New Country field, the selection in the Country List will be saved to the database and the new country entered will be ignored.

      • If the user enters a new country, the system will validate to make sure that the country entered does not already exist in the COUNTRY lookup table. If it does not, then it will be added to the COUNTRY table. If it does, then the existing country record will be used.

      • When adding a new country, the text will be saved to the database in all caps format.


  • Organization Type – drop down list containing the descriptions of all organization types in the ORGANIZATIONTYPE lookup table. The list will be sorted alphabetically.


  • Jurisdiction – drop down list containing the descriptions of all jurisdictions in the JURISDICTION lookup table. The list will be sorted alphabetically. This field will be required.


  • Current Position – drop down list containing the descriptions of all positions from the POSITION lookup table. The list will be sorted alphabetically. The user will not be able to add a new position. ‘Other’ will be a choice in the list so that the user may choose it if none of the positions listed is sufficient.


  • Years in Position – data entry field accepting numbers only. Length = 2.


  • Current Status - drop down list containing the descriptions of all employment statuses from the EMPLOYMENTSTATUS lookup table. The list will be sorted alphabetically.


  • Primary Responsibility - drop down list containing the descriptions of all responsibilities from the RESPONSIBILITY lookup table. The list will be sorted alphabetically. The user will not be able to add a new responsibility. ‘Other’ will be a choice in the list so that the user may choose it if none of the positions listed is sufficient.


  • Primary Experience - drop down list containing the descriptions of all experiences from the EXPERIENCE lookup table. The list will be sorted alphabetically. The user will not be able to add a new experience. ‘Other’ will be a choice in the list so that the user may choose it if none of the positions listed is sufficient.


  • Years of Experience - data entry field accepting numbers only. Length = 2.


  • Block 16 – the label for this field will be the following: ‘Briefly describe your activities/responsibilities as they relate to the course for which you are applying and identify how you will use the information obtained from the course.


The data entry field will accept all characters. Length = 1,024 characters. A vertical scroll bar will appear on the field if necessary. This field will be required.


  • Help – hyperlink in the top right corner of the screen that will link to a Help screen containing definitions of each field on the screen.


  • Main Menu – hyperlink back to the NETC Admissions Main Menu.


  • Next>> - hyperlink to the Endorsement and Certification screen. Validation for required fields and data format will occur when this hyperlink is clicked.


If the student did not enter data in the proper format, an error message will appear stating which field does not have correctly formatted data. When the user clicks <<Back on the message, they will return to the Organization Information screen and the cursor will be in the offending field.


The student will be required to enter data in certain fields. If the user does not fill in a required field an error message will appear when the user clicks Next>> stating ‘You did not enter data in < field name>.’ When the user clicks <<Back on the message, they will return to the Organization Information screen and the cursor will be in the offending field.


  • <<Back – hyperlink back to the Prerequisites screen.


Endorsement and Certification

The Endorsement and Certification screen will contain fields for the user to endorse their application by entering their name and date. It will also enable them to specify the names and titles of the organization, state and FEMA officials that have approved their application and the dates of the approvals. For EMI courses, the user will be required to fill in additional endorsements in order to submit their application. All validation for required fields and data format will occur when the Submit button is clicked.




Fields:

  • Certifications – The following certifications will appear at the top of the screen:

  • I certify that the information recorded on this application is correct. Falsification of information will result in denial of a course certificate and stipend (18 U.S.C. 1001).

  • I hereby authorize the release of any and all information concerning my enrollment in this course to the chief officer in charge, or designee, of my organization. All requests for information shall be in writing from said chief officer or designee.

  • Further, I understand that NETC and MWEAC are not authorized to provide medical or health insurance for students. I maintain appropriate insurance on an individual basis.

  • I agree to abide by the rules, policies, and regulations of NETC and MWEAC. Failure to do so will result in denial of the student stipend, expulsion from the course, and possible barring from future NFA or EMI courses.


  • Student Certification check box – this check box will be unchecked by default. The text description of the box will be as follows: ‘By checking this box, I certify that the information submitted in the application is complete and accurate. I further certify that by completing the Organization Endorsement section below, I have the full support and approval of my supervisor to attend the course for which I have applied.

  • The student will be required to check this box in order to submit the application.


  • Date – In this field the student will enter the date of their certification. It is a data entry field accepting all characters. The user will be required to enter the date in the format dd/mm/yyyy. This field will be required.


  • Title of Organization Head – text entry field accepting all characters. Length = 30. This field will be required.


  • Name of Organization Head - text entry field accepting all characters. Length = 30. This field will be required.


  • Date Approved (dd/mm/yyyy) – data entry field accepting all characters. The user will be required to enter the date in the format dd/mm/yyyy. This field will be required.


  • Name of State Office Official - text entry field accepting all characters. Length = 30.


  • Date Approved (dd/mm/yyyy) – data entry field accepting all characters. The user will be required to enter the date in the format dd/mm/yyyy.


  • Name of FEMA Regional Office Official - text entry field accepting all characters. Length = 30.


  • Date Approved (dd/mm/yyyy) – data entry field accepting all characters. The user will be required to enter the date in the format dd/mm/yyyy.


  • Submit button – When clicked, the validation below will occur. If all validations pass, then the application will be saved to the temporary database.


    • If the student did not enter data in the proper format, an error message will appear stating which field does not have correctly formatted data. When the user clicks <<Back on the message, they will return to the Endorsement screen and the cursor will be in the offending field.



    • The system will validate for required fields on the Endorsement screen (validation for required fields and data format on other screens will be performed when the user leaves those screens.) If the user does not fill in a required field an error message will appear when the user clicks Next>> stating ‘You did not enter data in < field name>.’ When the user clicks <<Back on the message, they will return to the Endorsement screen and the cursor will be in the offending field.


  • The system will validate the organization city, state and zip code entered against the CONGDISTRICT lookup table to make sure that they match. If they DO match, the Congressional District field will be populated. If they do not match, an error message will be displayed stating ‘The organization zip code entered does not match the city and state entered. Do you want to correct it?’ If ‘yes’ is clicked, the user will be returned to the Organization screen to correct the mistake. If ‘no’ is clicked, the application will be saved anyway. If the city, state and zip do not match, no Congressional District will be calculated when the application is submitted. It will be the government’s responsibility to keep the CONGDISTRICT up to date to prevent this from happening.


  • The system will check to see if the student has taken the necessary prerequisite NETC courses associated with the course in the PREREQSCRS table. If they have not taken the prerequisite courses they will not be able to apply online. A message will appear informing the user that they do not have the required prerequisites and that they must apply via hard copy and request a waiver. The message will say: ‘Our system indicates that you have not taken the required prerequisites for this course. Therefore you must apply via hard copy and request a waiver.’ The following links will appear at the bottom of the message page:

      • Link to PDF version of Application form 75-5.

      • Link back the Application main screen

      • Link back to the Endorsement and Certification page so that the user can go back and change the course on the application if they want.


    • All applications submitted from the web will be given an action code = 90 or 95. An action code of 90 will indicate that it is Pending via the web and the application status will be set to ‘Pending (Web)’. An action code of 95 will be set if the student is auto-qualified for the course based upon their Position. The application status will be set to ‘Qualified’.


  • Help – hyperlink in the top right corner of the screen that will link to a Help screen containing definitions of each field on the screen.


  • Main Menu – hyperlink back to the NETC Admissions Main Menu.


  • <<Back – hyperlink back to the Endorsement screen.



Check Application Status

The Check Application Status section will enable students to check the status of all applications they have submitted. There will be three steps (screens) used to check the status of an application:

  • Enter search criteria

  • Select application

  • View status


Enter Student Information

On this screen, the student will enter their SSN, birth date and organization zip code to find their records. The user will be required to enter data in all search fields in order to find their records. Only records matching ALL data entered will be returned. All validation for required fields and data format will occur when the user clicks ‘Next>>’ to leave the screen.





User Instructions: The following user instructions will appear at the top of the screen:

  • General Instructions: ‘Enter your social security number, birth date and 5-digit organization zip code then click Next. You must fill in ALL fields in order to access your applications. If you did not provide your Social Security Number when you applied for a course or do not want to enter it here, you cannot check the status of your application online. Please contact the Admissions office at 301-447-1035 or by email at netc-admissions@fema.gov’.



Fields:

  • Social Security No. (000-00-0000) – text entry field accepting all characters. This field will be required. The user will be required to enter the SSN in the format 000-00-0000. The formatting instructions will appear after the field name.


  • Birth Date (dd/mm/yyyy) – text entry field accepting all characters. This field will be required. The user will be required to enter the date in the format dd/mm/yyyy.


  • Organization 5-digit Zip Code – numeric data entry field accepting only numbers. Although the web application enables the user to enter a zip+4 zip code when applying, the search will only be performed on the first 5-digits of the zip code they entered. This field will be required.



  • Help – hyperlink in the top right corner of the screen that will link to a Help screen containing definitions of each field on the screen.


  • Main Menu – hyperlink back to the NETC Admissions Main Menu.


  • Next>> - hyperlink to the Select an Application screen. All validation for required fields and data format will occur when this hyperlink is clicked.


If the student did not enter data in the proper format, an error message will appear stating which field does not have correctly formatted data. When the user clicks <<Back on the message, they will return to the search screen and the cursor will be in the offending field.


The student will be required to enter data in all fields. If the user does not fill in all fields an error message will appear when the user clicks Next>> stating ‘You did not enter data in < field name>.’ When the user clicks <<Back on the message, they will return to the search screen and the cursor will be in the offending field.



If data was entered for all fields but no records were found, an error message will appear when the user clicks Next>> stating ‘No records found. Please make sure that you entered correct data in all search fields. If the data you entered is correct, please contact the admissions office at 301-447-1035 or by email at netc-admissions@fema.gov’.


Select Application

Once the student has entered their SSN, birth date and organization zip code, a list of all applications they have submitted matching the information specified on the search screen will appear. The student will then select the application for which they want to view the status.




User Instructions: The following instructions will appear at the top of the screen:

  • General Instructions:To select an application click on a course code.’


Fields:

  • Application List – table displaying the FY, Course Code and Course long title for all applications in the database for the student. The Course Code will be a hyperlink. To select an application, the user will click the hyperlink. This will open the View Status screen for the course.

  • The list will be sorted by Fiscal Year then by Course Code.

  • The Course Title will wrap to the next line if it is too long.


  • Help – hyperlink in the top right corner of the screen that will link to a Help screen containing definitions of each field on the screen.


  • Main Menu – hyperlink back to the NETC Admissions Main Menu.


  • <<Back – hyperlink back to the Search screen.


View Status

Once an application has been selected, the status of the application will be displayed on the View Status screen.




Fields:

  • Course Code – displays the course code of the selected application


  • Course Title – displays the long title of the course


  • Status - The status field will display a description of the status of the application. A new column will be added to the APPLICATIONSTATUS table called ‘Web_Description’ to store the description for each status. The table below shows the description that will be displayed on this screen for each application status.


  • Offering Date – displays the Start Date of the course offering that the student is in. If the student has not been placed in an offering yet, this field will be blank.


  • Help – hyperlink in the top right corner of the screen that will link to a Help screen containing definitions of each field on the screen.


  • Main Menu – hyperlink back to the NETC Admissions Main Menu.


  • <<Back – hyperlink back to the Select Application screen.



Application Status

Web Status

Pending

Your application was received and is pending review

Pending(Web)

Your application was received and is pending review

Qualified

Your application was received. You are qualified to attend the course, if a slot is available

Accepted

You have been accepted to attend this course on the offering date listed.

Wait Listed

You are qualified to attend the course, but there were no seats available. You have been placed on a waiting list. If you are available to attend with less than 4 days' notice, please contact us at

netc-admissions@fema.gov

Rejected

Your application was not accepted for this course. If you have any questions, please contact us at netc-admissions@fema.gov

Cancelled

Our records indicate that you were cancelled from this course. If you have any questions, please contact us at netc-admissions@fema.gov

No Show

Our records indicate that you did not attend this course and did not notify the admissions office in writing. If this information is incorrect, please contact us at netc-admissions@fema.gov

Incomplete

Our records indicate that you did not complete this course. If you have any questions, please contact us at netc-admissions@fema.gov

Failed

Our records indicate that you did not successfully complete this course. If you have any questions, please contact us at netc-admissions@fema.gov


Check Stipend Status

The Check Stipend Status section will enable students to check the status of their stipends. It will consist of three screens:

  • Enter Student Information

  • Select Course

  • View Stipend Status


Enter Student Information

On this screen, the student will enter their SSN, birth date and organization zip code to find their stipend records. The user will be required to enter data in all search fields in order to find their records. Only records matching ALL data entered will be returned. All validation for required fields and data format will occur when the user clicks ‘Next>>’ to leave the screen.




User Instructions: The following instructions will appear at the top of the screen

  • General Instructions: ‘Enter your social security number, birth date and 5-digit organization zip code then click Next. You must fill in ALL fields in order to access your stipends. If you did not provide your Social Security Number when you applied for a course or you do not want to enter it here, you cannot check the status of your stipend online. Please contact the Admissions office at 301-447-1035 or by email at netc-admissions@fema.gov’.



Fields:

  • Social Security No. (000-00-0000) – text entry field accepting all characters. This field will be required. The user will be required to enter the SSN in the format 000-00-0000. The formatting instructions will appear after the field name.


  • Birth Date (dd/mm/yyyy) – text entry field accepting all characters. This field will be required. The user will be required to enter the date in the format dd/mm/yyyy.


  • Organization 5-digit Zip Code – numeric data entry field accepting only numbers. Although the web application enables the user to enter a zip+4 zip code when applying, the search will only be performed on the first 5-digits of the zip code they entered. This field will be required.




  • Help – hyperlink in the top right corner of the screen that will link to a Help screen containing definitions of each field on the screen.


  • Main Menu – hyperlink back to the NETC Admissions Main Menu.


  • Next>> - hyperlink to the Select Course screen. All validation for required fields and data format will occur when this hyperlink is clicked.


If the student did not enter data in the proper format, an error message will appear stating which field does not have correctly formatted data. When the user clicks <<Back on the message, they will return to the search screen and the cursor will be in the offending field.


The student will be required to enter data in all fields. If the user does not fill in all fields an error message will appear when the user clicks Next>> stating ‘You did not enter data in < field name>.’ When the user clicks <<Back on the message, they will return to the search screen and the cursor will be in the offending field.



If data was entered for all fields but no records were found, an error message will appear when the user clicks Next>> stating ‘No records found. Please make sure that you entered correct data in all search fields. If the data you entered is correct, please contact the admissions office at 301-447-1035 or by email at netc-admissions@fema.gov’.


Select Course

Once the student has entered their SSN, birth date and organization zip code, a list of courses will appear. The list will contain all courses for which a stipend is authorized and for which the student has a participant record. The student will then select the course for which they want to view the status of their stipend.




User Instructions: The following instructions will appear at the top of the screen:

  • General Instructions:To select a course click on a course code. If the course does not appear in the list, please contact the Admissions Office at 301-447-1035 or by email at netc-admissions@fema.gov


Fields:

  • Course List – table displaying the FY, Course Code and Course long title of each course for which a stipend is authorized (class record has stipend required = Y) and the student has a participant record. The Course Code will be a hyperlink. To select a course, the user will click on it. This will open the View Stipend Status screen for the course.

  • The list will be sorted by Fiscal Year then by Course Code.

  • The Course Title will wrap to the next line if it is too long.


  • Help – hyperlink in the top right corner of the screen that will link to a Help screen containing definitions of each field on the screen.


  • Main Menu – hyperlink back to the NETC Admissions Main Menu.


  • <<Back – hyperlink back to the Search screen.


View Stipend Status

Once a course record is selected, the status of the student’s stipend and stipend amendment (if any) for the course will appear on the View Stipend Status screen. The stipend record will always appear as the first record in the list. If there is also a stipend amendment, it will appear below the stipend record.




User Instructions: The following instructions will appear at the top of the screen:

  • General Instructions – If you have questions about your stipend please contact the Admissions office at 301-447-1035 or by e-mail at netc-admissions@fema.gov for more information.


Fields:

  • Type – displays the type of stipend record. The types are:

    • Stipend

    • Amendment

  • Course Code – displays the course code selected on the Select Course screen


  • Course Title – displays the long title of the course selected on the Select Course screen


  • Start Date – displays the start date of the course selected on the Select Course screen


  • Amount Claimed– displays the amount of the stipend or stipend amendment submitted (total of all receipts).


  • Stipend Status – displays the status of the stipend or stipend amendment Below are the stipend statuses:

    • Pending

    • Approved

    • Not Approved

    • Forwarded for Payment


  • Reject Reason – displays the description of the reason from the STIPENDREJ table when stipend or stipend amendment status = Not Approved.


  • Amount Authorized – displays the amount approved for payment when the stipend or stipend amendment status = Approved or Forwarded for Payment.


  • Status Date – date that the status of the stipend or stipend amendment changed.


  • Help – hyperlink in the top right corner of the screen that will link to a Help screen containing definitions of each field on the screen.


  • Main Menu – hyperlink back to the NETC Admissions Main Menu.


  • <<Back – hyperlink back to the Select Course screen.


Off-Site Course Management

The Off-Site Course Management functionality will enable instructors for off-site classes (local and direct field deliveries) to create the class in the Admissions system, enter applications for the class and generate certificates for their students through the web. This functionality will be housed in its own web site separate from the NETC Admissions Web Module. The government will be responsible for deciding how this web site will be accessed by the instructors.


Main Menu

When the user clicks the Off-Site Course Management hyperlink on the NETC web site, the main menu for this section will appear. It will have two menu items:


  • Create Class and Add Applications – when this hyperlink is clicked, the Create Class screen will appear


  • Generate Certificates- when this hyperlink is clicked, the Generate Certificates screen will appear




Adding Applications and Creating the Class

This section will be similar to the hand-off disk process currently in use. The screens in this section will enable instructors to enter their class into the Admissions system and then enter applications for their class. In order to perform this task, the course must already exist in the Admissions system for the FY and Course Code with a Delivery Mode = ‘Local Delivery’ or ‘Direct Field Delivery.’


Create Class

From this screen, the instructor will enter their name and phone number. Then they will select the Fiscal Year, School (NFA or EMI), Delivery Mode and Course Code for their course and specify the Location, Start Date and End Date. The user will be required to click the Go button after selecting a Delivery Mode in order to populate the list of course codes. Validation for required fields and data format will occur when the user clicks ‘Next>>’ to leave the screen except where noted.




User Instructions: The following instructions will appear at the top of the screen:

  • You must add all applications for the class when the class is created! You cannot return at a later date and add additional applications.

  • You will be able to generate a student list for the class once you have entered all applications. If you would like an official Roster for the class please contact the Admissions Office at netc-admissions@fema.gov.

  • *Fields denoted with an asterisk are required.


Fields:

  • Instructor Name (Lastname, Firstname) – data entry field accepting all characters. The suggested format will be ‘Lastname, Firstname’. However, the user will not be prevented from adding an application if the name is not formatted correctly. This field will be required.


  • Instructor Phone (000-000-0000x0000) – text entry field accepting all characters. Length = 18. The suggested format will be 000-000-0000x0000. The user will be able to enter the number in any format, but when it is saved to the database, only the numbers will be saved. This field will be required.


  • Fiscal Year – data entry field accepting only a 4-digit number. It will default to the current government fiscal year. This field will be required. When the user clicks the Go button next to the Delivery Mode field, the system will validate to make sure that a 4-digit number was entered. If not, an error message will appear stating ‘Please enter a fiscal year in the format yyyy’.


  • School – drop down list containing two items: EMI or NFA.


This field will be required. If the user does not select a school, an error message will appear when the Go button next to the Delivery Mode field is clicked stating ‘Please specify a school.’


  • Delivery Mode – drop down list containing the following values. The user will only be able to add classes for courses with these delivery modes. A Go button will appear after this field. When the user clicks the button the screen will be refreshed and the Course Code field will be populated.

    • Direct Field (delivery mode = Direct Field)

    • Local or Handoff Delivery (Delivery Mode = Local Delivery)


  • Course Code – drop down list of course codes in the specified FY with the selected Delivery Mode. It will be populated when the user clicks the Go button after the Delivery Mode field. The list will be sorted alphabetically by course code letter. This field will be required.


  • City – text entry field accepting all characters. Length = 30. This field will be required.


  • State – drop down list containing all state abbreviations from the STATE lookup table. The list will be sorted alphabetically. This field will be required.


  • Start Date (dd/mm/yyyy) – data entry field accepting all characters. Dates must be entered in the format dd/mm/yyyy. This field will be required.


  • End Date (dd/mm/yyyy) – data entry field accepting all characters. Dates must be entered in the format dd/mm/yyyy. This field will be required.


  • Help – hyperlink in the top right corner of the screen that will link to a Help screen containing definitions of each field on the screen.


  • Main Menu – hyperlink back to the Off-Site Management Main Menu


  • Next>>– hyperlink to the Add Application – Personal Information screen. Validation for required fields and data format will occur when this hyperlink is clicked.


If the student did not enter data in the proper format, an error message will appear stating which field does not have correctly formatted data. When the user clicks <<Back on the message, they will return to the Create Class screen and the cursor will be in the offending field.


The student will be required to enter data in certain fields. If the user does not fill in a required field an error message will appear when the user clicks Next>> stating ‘You did not enter data in < field name>.’ When the user clicks <<Back on the message, they will return to the Create Class screen and the cursor will be in the offending field.



Add Application – Personal Information

From this screen, the instructor will begin to create an application for a student by entering their personal information. An SSN must be supplied in order to input applications online. If the student did not supply their SSN, the instructor must enter the applications via the hand-off diskette or submit a hard copy. All validation for required fields and data format will occur when the user clicks ‘Next>>’ to leave the screen.





User Instructions - The following instructions will appear at the top of the screen:

  • SSN - You must provide a social security number in order to enter applications online. If the student does not have a SSN or does not want to provide their SSN you must supply the applications via the hand-off diskette or by hard copy. Please call the admissions office at 301-447-1035 for more information

  • .’

  • Required fields - * Fields denoted with an asterisk are required.


Fields:

  • Course identifier fields – The following data will be displayed at the top of the screen read-only to identify the course for which the application is being entered: FY, Course Code, Location, Start Date.


  • SSN (000-00-0000)– This field will be a text entry field accepting all characters. The user will be required to enter an SSN in the format 000-00-0000. The formatting instructions will appear after the field name.



  • US Citizen - check box indicating if the person is a US citizen. It will be checked by default.


  • Place of Birth (if not US Citizen) – This field will contain two separate fields. One will be a drop down list of countries from the COUNTRY table. The other will be a text entry field. User instructions will appear before the fields stating ‘Select a country in the Country List or if your country is not in the list enter it in the field provided.’

    • Country List – drop down list of countries from the COUNTRY table sorted alphabetically. This field will always be activated. When saving, if the US Citizen box is checked, any data selected in the Country field will not be saved to the database.

    • New Country Field – data entry field accepting all characters. Length = 25. This field will always be activated. When saving, the following validation will occur:

      • If the US Citizen box is checked, any data entered into the New Country field will not be saved to the database.

      • If US Citizen is not checked and the user both selects a country in the Country List and enters one in the New Country field, the selection in the Country List will be saved to the database and the new country entered will be ignored.

      • If US Citizen is not checked and the user enters a new country, the system will validate to make sure that the country entered does not already exist in the COUNTRY lookup table. If it does not, then it will be added to the COUNTRY table. If it does, then the existing country record will be used.

      • When adding a new country, the text will be saved to the database in all caps format.


  • Prefix – text entry field accepting all characters. Length = 10. The data entered will be saved to the database in Title case.


  • Lastname - text entry field accepting all characters. Length = 25. This field will be required. The data entered will be saved to the database in Title case.


  • Firstname - text entry field accepting all characters. Length = 25. This field will be required. The data entered will be saved to the database in Title case.


  • Middle – text entry field accepting all characters. Length =25. The data entered will be saved to the database in Title case.


  • Suffix – text entry field accepting all characters. Length = 10. The data entered will be saved to the database in Title case.


  • Street Address Line-1 - text entry field accepting all characters. Length = 35. This field will be required.


  • Street Address Line-2 - text entry field accepting all characters. Length = 35.


  • City - text entry field accepting all characters. Length = 30. This field will be required.


  • State – drop down list of state abbreviations from the STATE table. The list will be sorted alphabetically. This field will only be required when country = USA.


  • Zip - text entry field accepting only numbers and dashes. Length = 10. This field will be required when country = USA.


  • Country - This field will contain two separate fields. One will be a drop down list of countries from the COUNTRY table. The other will be a text entry field. User instructions will appear before the fields stating ‘Select a country in the Country List or if your country is not in the list enter it in the field provided.’ The user will be required to either select a country or enter a new one.

    • Country List – drop down list of countries from the COUNTRY table sorted alphabetically. This field will always be activated.

    • New Country Field – data entry field accepting all characters. Length = 25. This field will always be activated. When saving, the following validation will occur:

      • If the user both selects a country in the Country List and enters one in the New Country field, the selection in the Country List will be saved to the database and the new country entered will be ignored.

      • If the user enters a new country, the system will validate to make sure that the country entered does not already exist in the COUNTRY lookup table. If it does not, then it will be added to the COUNTRY table. If it does, then the existing country record will be used.

      • When adding a new country, the text will be saved to the database in all caps format.


  • Sex – drop down list containing two values: Male and Female. This field will be required.


  • Date of Birth (dd/mm/yyyy) – text entry field accepting all characters. This field will be required. The user will be required to enter the date in the format dd/mm/yyyy.


  • Race – drop down list of race descriptions from the RACE table.


  • Ethnicity – drop down list of ethnicity descriptions from the ETHNICITY table.


  • Home Phone (000-000-0000) – text entry field accepting numbers and dashes. Length = 18. A formatting suggestion will appear after the field name, but when the data is saved to the database, only the numbers will be saved.


  • Work Phone (000-000-0000x0000) - text entry field accepting numbers and dashes. Length = 18. A formatting suggestion will appear after the field name, but when the data is saved to the database, only the numbers will be saved.


  • Fax (000-00-0000) - text entry field accepting numbers and dashes. Length = 18. A formatting suggestion will appear after the field name, but when the data is saved to the database, only the numbers will be saved.


  • E-mail - text entry field accepting all characters. Length = 50.


  • Help – hyperlink in the top right corner of the screen that will link to a Help screen containing definitions of each field on the screen.


  • Main Menu – hyperlink back to the Off-Site Management Main Menu


  • Next >> – hyperlink to the Add Application – Organization screen. Validation for required fields and data format will occur when the user clicks this hyperlink.


If the student did not enter data in the proper format, an error message will appear stating which field does not have correctly formatted data. When the user clicks <<Back on the message, they will return to the Personal Information screen and the cursor will be in the offending field.


The student will be required to enter data in certain fields. If the user does not fill in a required field an error message will appear when the user clicks Next>> stating ‘You did not enter data in < field name>.’ When the user clicks <<Back on the message, they will return to the Personal Information screen and the cursor will be in the offending field.


  • <<Back – hyperlink back to the Add Class screen


Add Application – Organization Information

On this screen, the instructor will enter the student’s organization information and save the application and class. The class record will only be saved the first time. After the application and class are saved, the instructor will have the option to add more applications for the class or exit the process and return to the main menu.




Fields:

  • Course identifier fields – The following data will be displayed at the top of the screen read-only to identify the course for which the application is being entered: FY, Course Code, Location, Start Date.

  • Student Identifier fields - The following data will be displayed at the top of the screen read-only to identify the student for which the application is being entered: SSN, Last name, First name


  • NFIRS – data entry field accepting letters and numbers only. Length = 10.


  • Organization Name – text entry field accepting all characters. Length = 50. This field will be required.


  • Street Address (Line-1) - text entry field accepting all characters. Length = 35. This field will be required.


  • Street Address (Line-2) - text entry field accepting all characters. Length = 35.


  • City - text entry field accepting all characters. Length = 30. This field will be required.


  • State – drop down list of state abbreviations from the STATE table. The list will be sorted alphabetically. This field will be required.


  • Zip - text entry field accepting only numbers and dashes. Length = 10. This field will be required when country = USA.


  • Country - This field will contain two separate fields. One will be a drop down list of countries from the COUNTRY table. The other will be a text entry field. User instructions will appear before the fields stating ‘Select a country in the Country List or if your country is not in the list enter it in the field provided.’ The user will be required to either select a country or enter a new one.

    • Country List – drop down list of countries from the COUNTRY table sorted alphabetically. This field will always be activated.

    • New Country Field – data entry field accepting all characters. Length = 25. This field will always be activated. When saving, the following validation will occur:

      • If the user both selects a country in the Country List and enters one in the New Country field, the selection in the Country List will be saved to the database and the new country entered will be ignored.

      • If the user enters a new country, the system will validate to make sure that the country entered does not already exist in the COUNTRY lookup table. If it does not, then it will be added to the COUNTRY table. If it does, then the existing country record will be used.

      • When adding a new country, the text will be saved to the database in all caps format.


  • Organization Type – drop down list containing the descriptions of all organization types in the ORGANIZATIONTYPE lookup table. The list will be sorted alphabetically.


  • Jurisdiction – drop down list containing the descriptions of all jurisdictions in the JURISDICTION lookup table. The list will be sorted alphabetically. This field will be required.


  • Current Position – drop down list containing the descriptions of all positions from the POSITION lookup table. The list will be sorted alphabetically. The user will not be able to add a new position. ‘Other’ will be a choice in the list so that the user may choose it if none of the positions listed is sufficient.


  • Years in Position – data entry field accepting numbers only. Length = 2.


  • Current Status - drop down list containing the descriptions of all employment statuses from the EMPLOYMENTSTATUS lookup table. The list will be sorted alphabetically.


  • Help – hyperlink in the top right corner of the screen that will link to a Help screen containing definitions of each field on the screen.


  • Main Menu – hyperlink back to the Off-Site Management Main Menu without saving the application.


  • <<Back – hyperlink back to the Add Application-Personal Information screen


  • Submit button – when clicked, the application will be saved to the temporary database. The first time, the class information will also be saved. The following actions will occur when the Submit button is clicked:

    • If the student did not enter data in the proper format, an error message will appear stating which field does not have correctly formatted data. When the user clicks <<Back on the message, they will return to the Organization Information screen and the cursor will be in the offending field. The user will need to correct the data and then click the Submit button again to save the application.


    • The system will check to make sure that each required field on the Organization Information screen has been populated. (The required fields on the other screens will be validated when the user leaves that screen.) If the user does not fill in a required field an error message will appear stating ‘You did not enter data in < field name>.’ When the user clicks <<Back on the message, they will return to the Organization Information screen and the cursor will be in the offending field. The user will need to populate the field and then click the Submit button again to save the application.


  • The system will validate the organization city, state and zip code entered against the CONGDISTRICT lookup table to make sure that they match. If they DO match, the Congressional District field will be populated. If they do not match, an error message will be displayed stating ‘The organization zip code entered does not match the city and state entered. Do you want to correct it?’ If ‘yes’ is clicked, the user will be returned to the online application to correct the mistake. If ‘no’ is clicked, the application will be saved anyway. If the city, state and zip do not match, no Congressional District will be calculated when the application is submitted. It will be the government’s responsibility to keep the CONGDISTRICT up to date to prevent this from happening.



    • When the class record is saved, an offering record will be created in the CLASSVIEW table. The location entered for the class will be validated against the LOCATION table. If the location entered already exists, that location record will be used. If the city and state entered do not exist in the LOCATION table, a new location record will be created. The Session letter for the new class will be assigned by the system. If there is already an existing class record for the specified course, Start Date and Location the new class will be created with the next available Session letter.



    • All applications entered through this screen will be given an action code = 00 and a course date = the Start Date entered for the class. A participant record will also be created for each student with a Cert Date equal to the End Date of the class.


    • When a class record is saved, a record will also be created for the instructor in the COURSEMGR table. If the instructor name already exists, the existing record will be used.


Save Confirmation

Once the application (and class) are saved, a confirmation screen will appear. This screen will confirm that the record(s) were saved and will enable the user to add another application for the same class, Generate a Student List or exit the process and go back to the Off-Site Class Management Main Menu. Once they have finished adding all of the applications for a class, the user will NOT be able to go back later and add more applications for the class.


  • User Instructions – The following instructions will appear on the screen:

    • You must add all applications for a class when the class is created. You cannot come back later and add additional applications. If you would like to add more applications for this class, select Add Another Application for this Class below. If you do NOT wish to add additional applications for this class, select Back to Main Menu below to exit the Add Application process and return to the Off-Site Class Management Main Menu.

    • You may generate a Student List for your class PRIOR to exiting the Add Application process by clicking on the Generate Student List hyperlink below. If you would like an official Roster for this course, please contact the Admissions Office at netc_admissions@fema.gov.

    • You may generate Certificates for the class from the main menu the day after the applications have been entered. If a certificate is printed for a student who did not complete the course, please destroy it. Please note the Session Letter above, as you will need it to generate the certificates.

    • If students do not successfully complete the course, please notify the Admissions office at 301-447-1035 or by email at netc-admissions@fema.gov so that their records can be updated.


  • Add Another Application for Class – When this hyperlink is clicked, another screen will appear asking the user if the new application will be for the same organization. Clicking Yes will take the user back to the Add Application – Personal Information screen. The Add Application – Organization Information screen will remain populated with the information from the previous application. Clicking No will also take the user back to the Add Application – Personal Information screen but the Add Application – Organization Information screen will be blank.


  • Generate Student List – Clicking this hyperlink will generate a list of the students that have had applications added for the class so far.


  • Back to Main Menu – Clicking this hyperlink will exit the add application process and return the user to the Off-Site Course Management Main Menu.





Generate Student List

When the user clicks the Generate Student List link on the Save Confirmation page, the Student List screen will appear. It will display details about the class at the top of the screen and will list the students added to the class in alphabetical order by last name. The user will be able to print this screen using the browser’s built-in print function. The screen will contain the following fields:


  • FY

  • Course Code

  • Start Date

  • Session

  • Last Name

  • First Name


There will be two hyperlinks at the bottom of the page:

  • Add Another Application for this Class – When this hyperlink is clicked, another screen will appear asking the user if the new application will be for the same organization. Clicking Yes will take the user back to the Add Application – Personal Information screen. The Add Application – Organization Information screen will remain populated with the information from the previous application. Clicking No will also take the user back to the Add Application – Personal Information screen but the Add Application – Organization Information screen will be blank.


  • Back to Main Menu – Clicking this hyperlink will exit the add application process and return the user to the Off-Site Course Management Main Menu.



Generate Certificates

This screen will enable the instructor to generate a Certificate of Training for all students in their class. Instructors will only be allowed to generate certificates for classes in which they are the instructor (course manager). The certificates will be available the day after the class and applications are entered (depending on the frequency that the Admissions database is updated with records from the temporary database.)


Instructors will be able to generate certificates for a class as many times as they want. However, each time certificates are generated, a record will be inserted into the Application Ledger in the Admissions database for each student to track that a certificate was generated. Admissions staff will be able to view this ledger record in the internal Admissions System in the Student Module/Application View/Course Info tab.





User Instructions - The following instructions will appear at the top of the screen:

  • General Instructions - Enter the instructor name then select the class for which you want to generate a Certificate of Training. After specifying the Delivery Mode, Course Code, Location and Start Date you must click the Go button next to the field to populate the next field on the screen. All fields must be populated in order to generate a certificate.


Please refer to the save confirmation you received when creating your class for the appropriate Session letter. If you do not know your Session letter, please contact the Admissions Office at 301-447-1035.


Fields:

  • Instructor Name – data entry field accepting all characters. Length = 30. This field will be required. If the user does not enter a name, an error message will appear when the Submit button is clicked stating ‘You must enter an instructor name in the format Lastname, Firstname.’ The user must enter their name the same way it was added to the system in order to access the certificates.


  • Fiscal Year – data entry field accepting only a 4-digit number. It will default to the current government fiscal year. This field will be required. When the user clicks the Go button next to the Delivery Mode field, the system will validate to make sure that a 4-digit number was entered. If not, an error message will appear stating ‘Please enter a fiscal year in the format yyyy’.


  • School – drop down list containing two items: EMI or NFA.


This field will be required. If the user does not select a school, an error message will appear when the Go button next to the Delivery Mode field is clicked stating ‘Please specify a school.’


  • Delivery Mode – drop down list containing the following values. The user will only be able to generate certificates for courses with these delivery modes. A Go button will appear after this field. When the user clicks the button the screen will be refreshed and the Course Code field will be populated.

    • Direct Field (delivery mode = Direct Field)

    • Local or Handoff Delivery (Delivery Mode = Local Delivery)


  • Course Code – drop down list of all course codes in the specified FY with the selected Delivery Mode. It will be populated when the user clicks the Go button next to the Delivery Mode field.


There will be a Go button next to this field. When clicked, the screen will be refreshed and the Location field will be populated. This field will be required. If the user does not select a course code, an error message will appear when the Go button is clicked stating ‘You must select a course code.’


  • Location – drop down list containing the City, ST of all locations for the selected course. It will be populated when the user clicks the Go button next to the Course Code field.


There will be a Go button next to this field. When clicked, the screen will be refreshed and the Start Date field will be populated. This field will be required. If the user does not select a location, an error message will appear when the Go button is clicked stating ‘You must select a location.’


  • Start Date – drop down list containing the Start Dates of all offerings of the selected course at the specified location. It will be populated when the Go button next to the Location field is clicked.


There will be a Go button next to this field. When clicked, the screen will be refreshed and the Session field will be populated. This field will be required. If the user does not select a start date, an error message will appear when the Go button is clicked stating ‘You must select a start date.’


  • Session – drop down list containing all session letters for the selected course, location and start date. It will be populated when the user clicks the Go button next to the Start Date field. This field will be required. Validation will occur when the Submit button is clicked.


Buttons

  • Submit – when clicked, the following validations will occur. If all validations pass, the certificate will be generated.

    • The system will check to make sure all required fields are populated. If the user does not fill in a required field an error message will appear stating ‘You did not enter data in <field name>.’ When the user clicks <<Back on the message, they will return to the Generate Certificates screen and the cursor will be in the offending field.


    • If all required fields are populated, the system will validate that the instructor name entered is a valid instructor for the selected class. If not, an error message will appear stating ‘The instructor name entered does not match the selected class. Please be sure the instructor name is in the proper format and is spelled correctly.’ The user must enter the instructor name in the exact same format in which it was entered in order to generate the certificates.


  • Main Menu – hyperlink back to the Class Management main menu


Certificate

The certificates will be generated using Crystal Reports. The Crystal Reports viewer may need to be installed on the client machine in order for the certificates to be generated. If so, the user will be prompted to download the control when they try to generate the certificates for the first time. The user will be able to print the certificates for all students from the viewer/browser window.


Only one type of certificate will be generated for Off-site (Local Delivery and Direct Delivery) courses – the NFA Certificate of Training (Arched). See Volume VI of the NETC Admissions Requirements dated 10/23/2001 for more information about this report.


For Off-Site courses the NFA Certificate of Training (Arched) must be printed on plain paper. Therefore, a new certificate report will be created containing the same fields as the existing certificate plus the background graphics. The government will supply the graphics in a graphics file (bitmap, .gif or .jpg).


Help Screens

Each screen in the Web Module will have a corresponding Help screen containing descriptions of the fields on that screen and any necessary user instructions. The Help screen will be accessed via a Help hyperlink at the top of each screen. The government supplied the text for the descriptions of each field. Below is a sample of the Help for the Add Application - Organization Information screen.






Vehicle Module

The Vehicle Module is an interface between the Admissions Application and the existing Vehicle Application. It will enable the Vehicle Application to automatically update the Admissions System when a student registers a vehicle at NETC. This information will be used by Admissions System personnel when paying stipends.


There will be no other interfaces between the Admissions System and the Vehicle Application. The Vehicle button that currently appears on the Admissions System Main Menu will be disabled. Therefore, any Admissions System users that need access to the Vehicle Application will need to access it directly. Conversely, Vehicle Application users that need access to the Admissions System for emergency purposes will need to access the Admissions System directly. These users must be setup as users of the Admissions System via the Admissions System Security Module.

Vehicle Registration

To enable the Vehicle Application to automatically update the Admissions System, modifications must be made to both the Security (Vehicle) Application and the Admissions System. The government will modify the Security Application code and Sytel will make the necessary modifications to the Admissions System.


Security Application Modifications

The government will modify the Security Application so that when a vehicle registration for a student is saved, the following information is sent to a stored procedure in the Admissions Database:

  • SSN

  • Signature Date (date the student is issued the parking pass)

  • Expiration Date (date the pass expires)


In order for the update to work, the user must fill in all of the fields above. If all fields are not populated the Admissions System will not be updated.


Admissions System Modifications

A stored procedure will be created in the Admissions Database that will be activated when a vehicle is registered in the Security Application. This procedure will do the following:

  • Find the participant record for the student with Arrive and Depart dates that match the Signature and Expiration Dates in the Security Application. If the student is on campus for multiple courses, the system will find all participant records that match the time period defined by the Signature and Expiration Dates.

  • Update the STIPEND record(s) associated with the student’s participant record(s) and set VEHICLEREG = ‘Y’. This will make the Vehicle Registered check box on the Stipend screen checked, indicating that the student registered a vehicle on campus for the course.


In order for the update to work properly, the student must have already been accepted into the course at the time they register their vehicle on campus. If the student has not been placed in the class yet or the Vehicle update is not successful for any reason, the user will have to enter a note in the Stipend record Notes field to indicate that a vehicle was registered for the student.




Appendix A: Off-Site NFA Course Certificate


























3


Sytel Corporation NETC Admissions System

Volume VIII: Web and Vehicle Reqs.

File Typeapplication/msword
AuthorDHS
Last Modified ByDHS
File Modified2007-02-28
File Created2007-02-28

© 2026 OMB.report | Privacy Policy